风箱结构

化学老师喊研究"风箱",我不懂,也找不到风箱给我研究,那位能告诉我
图片尺寸419x386
风箱的活塞板实际是一块立在箱内的长方形夹板,略小于箱体,四周是一圈
图片尺寸848x568
风箱里的乡愁和故事
图片尺寸640x454
木质风箱结构
图片尺寸537x302
为农户用的一种风箱的结构示意图,其中在a,b,c,d四处分别装有单向通风
图片尺寸408x369
木风箱
图片尺寸980x615
风箱原理及构造
图片尺寸400x254
你知道吗老旧厨房中不起眼的风箱曾让中国科技领先世界几千年
图片尺寸573x253
我的人生路九
图片尺寸366x205
活塞式风箱结构示意图
图片尺寸1080x447
图4-48 烧结风箱结构图
图片尺寸1065x1348
中国古代的风箱及其演变
图片尺寸729x1085
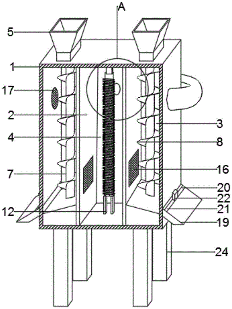
循环风箱,属于制药设备技术领域,包括烘干外箱,加热结构和风循环结构
图片尺寸750x1000
一种风箱结构,应用其的吸油烟机以及灶具的制作方法
图片尺寸1000x875
明代,木风扇又为活塞式木风箱所代替,在结构上一个比一个进步
图片尺寸300x200
下排式吸油烟机的风箱结构
图片尺寸1000x859
风箱结构,应用其的吸油烟机以及灶具的制作方法
图片尺寸1000x869
cn201354347y_新型供风方式的玻璃钢化炉用集风箱有效
图片尺寸1872x1659
风箱cad设计图
图片尺寸820x579
一种可拆卸吸风箱制造技术
图片尺寸1000x919