风阀图纸

建筑设备管理系统施工方案及工艺流程,含系统调试,配图丰富
图片尺寸1400x850
建筑设备管理系统施工方案及工艺流程,含系统调试,配图丰富
图片尺寸1080x576
建筑设备管理系统施工方案及工艺流程,含系统调试,配图丰富
图片尺寸1080x675
建筑设备管理系统施工方案及工艺流程,含系统调试,配图丰富
图片尺寸1200x1214
一种具有轴密封功能的风阀结构的制作方法
图片尺寸886x1000
d641w气动通风蝶阀
图片尺寸612x300
重庆d941w电动通风蝶阀-重庆大才阀门_结构_工作_介质
图片尺寸640x467
这两个图例是风阀还是防虫网
图片尺寸852x822
cn207648150u_一种地铁隧道用风机共体式圆形风阀有效
图片尺寸1606x1598
本实用新型涉及风阀技术领域,尤其涉及一种用于中央空
图片尺寸1000x899
今日分享定量风阀图集介绍 根据定量风阀百度介绍及
图片尺寸640x446
一种可自动调节的调节风阀的制作方法
图片尺寸443x426
300x250气动风阀三维套图下载_solidworks模型_solidwor
图片尺寸760x566
请问平面图上是电动风量调节阀系统图上是对开多叶电动调节阀一样吗
图片尺寸768x589
一种防火风阀的制作方法
图片尺寸928x1000
化工塑料厂电动通风蝶阀设计选型
图片尺寸800x800
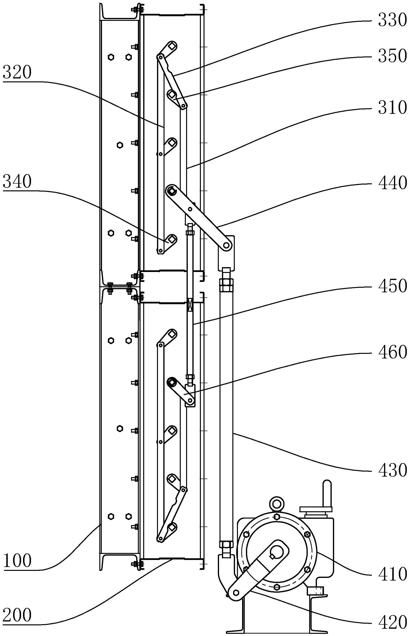
本实用新型公开了一种组合风阀,包括驱动装置,连杆机
图片尺寸1688x2626
image.png
图片尺寸583x318
高性能通风蝶阀
图片尺寸591x389
电动风量调节阀258com企业服务平台
图片尺寸862x692