高低杠怎么画

高低杠简笔画
图片尺寸500x501
高低杠幼儿简笔画
图片尺寸300x200
女子高低杠
图片尺寸610x771
高低杠图标
图片尺寸512x512
艺术体操-高低杠.女孩做练习插画-正版商用图片0g2owv-摄图新视界
图片尺寸700x700
跳,横图,俯视,插画,室内,白天,白色背景,锻炼,运动,数码,科技,高低杠
图片尺寸819x534
在高低杠上锻炼
图片尺寸1100x1100
高低杠简笔画
图片尺寸1500x1000
高低杠幼儿简笔画
图片尺寸500x449
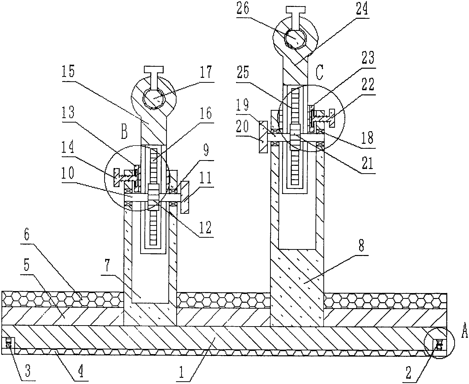
一种可调节体操高低杠
图片尺寸1900x1554
黄色健身器材高低杠
图片尺寸810x810
活跃的儿童体育高低杠矢量抽象剪影
图片尺寸1023x723
卡通健身器材高低杠高清图片卡通健身器材瑜伽垫高清图片卡通健身器材
图片尺寸300x300
运动美女图片
图片尺寸285x259
一种高度可调式体育训练用高低杠_cn201920330580.9_度衍网
图片尺寸442x431
是高低杠的中难度上法(也可作为成套动作中的中间难度动作存在).
图片尺寸551x276
柔韧性,协调性,平衡力的考验|跳马|平衡木|高低杠|单杠|双杠_网易订阅
图片尺寸500x501
一种高低杠杠面加工方法技术
图片尺寸1000x721
双杠吊环艺术体操高低杠奥运会体育比赛体操
图片尺寸1024x1024
插画,室内,白天,白色背景,侧面,运动服,锻炼,运动,数码,科技,高低杠
图片尺寸819x329