高压角阀结构及原理
![snnasv116系列高压多级降压式角座阀说明书:[2]](https://imgs.wantubizhi.com/img/A1A61BAA66193547F3A6DD7D8EE527E9016066A66A11F2B3C49D3D5271AB1AD19E9891FFCC28C7CBAA790603DD4CACF0C0C2FBE47A24DB76B78974059EDA51752F93B0CD40DD067DAAF1B479048D1C28EC9411AE36D1707119CEA7495EE2C67B)
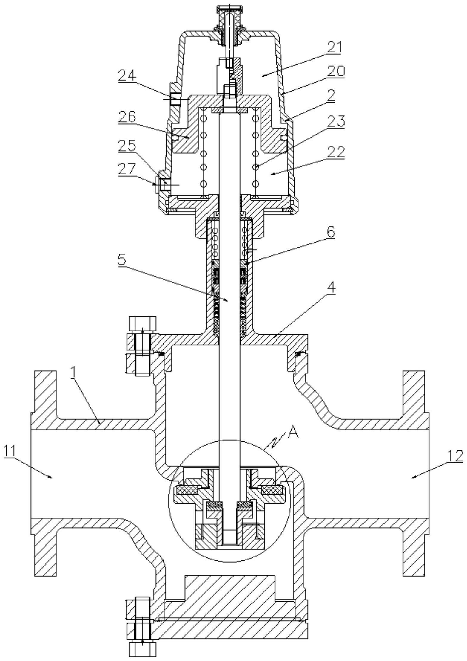
snnasv116系列高压多级降压式角座阀说明书:[2]
图片尺寸2380x3232
s系列角形调节阀
图片尺寸937x1178
角阀在日常操作中的误区——玻璃板液位计角阀使用说明(图)
图片尺寸874x1307
塑料头角座阀内部结构及部分配件名称
图片尺寸591x744
一种可避免密封部受大载荷力的先导式角座阀
图片尺寸1565x2216
不锈钢焊接气动角座阀 304材质防水锤气控角阀
图片尺寸767x512
定制304不锈钢气动角座阀丝口内螺纹高温蒸汽y型角座
图片尺寸750x1108
角阀是干什么用的 冷热角阀可以通用吗
图片尺寸487x589
盾安直角阀 黄铜三角阀 热水器台盆三角阀 q08
图片尺寸384x324
kljzf-q快装卡箍式不锈钢气动角座阀/y型角座阀/气动阀门/气控阀
图片尺寸800x900
德国burkert角座阀工作方式以及应用领域
图片尺寸609x273
结构及工作原理气动薄膜角式高压调节阀是气动单元组合仪表中的气动
图片尺寸600x605
一种双调节黑水角阀结构的制作方法
图片尺寸395x515
北京不锈钢角座阀品质保证
图片尺寸1000x1000
高压角式节流阀的制作方法
图片尺寸711x1000
气动角座阀-气动角座阀原理-气动角座阀分类-气动角座阀的应用-什么是
图片尺寸493x332
角座阀结构图
图片尺寸687x566
锌基高铝合金角阀
图片尺寸800x1297
气动薄膜角形调节阀zxs
图片尺寸576x735
hd旋筒式角行程黑水角阀/黑(灰)水调节阀
图片尺寸270x382