高压锅限压阀结构

yw110丝口减压稳压阀
图片尺寸400x510
减压阀技术资料,图纸(中文)
图片尺寸1556x1718
减压阀原理解析及结构图_阀门知识-中国·华光阀门有限公司
图片尺寸294x421
ir3021-03bed-a,精密减压阀 ir1000-a/2000-a/3000-a系列
图片尺寸880x517
yk43x氮气减压阀
图片尺寸1202x646
一种限压限流阀的制作方法
图片尺寸443x326
进口水用高压减压阀结构图.jpg
图片尺寸900x531
调压阀资料原理
图片尺寸1210x1677
cn2346988y_减压阀失效
图片尺寸800x750
现货供应200p黄铜减压阀,200p-10/16t减压阀
图片尺寸1024x930
进口泄压持压阀结构图
图片尺寸400x343
200p 进口减压阀200p
图片尺寸701x273
限压阀
图片尺寸1242x1726
北京减压阀结构图_(煤气减压阀结构图片)
图片尺寸274x230
cn201851874u_机油泵限压阀失效
图片尺寸800x445
一种压力锅限压阀及压力锅制造技术
图片尺寸754x1000
cn105443816b_柴油机高压共轨用两级限压阀有效
图片尺寸379x548
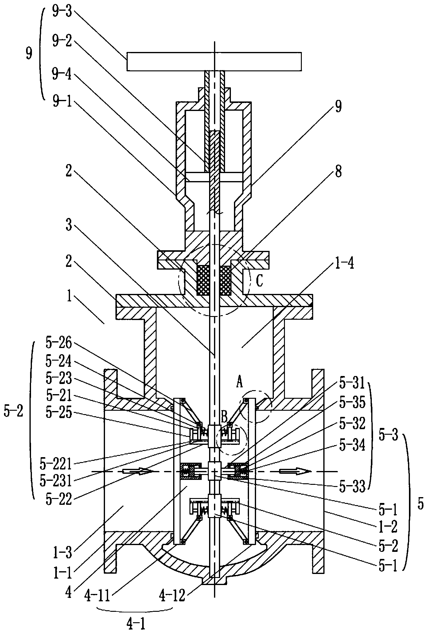
一种高压压力密封闸阀
图片尺寸1394x2059
cn201481063u_能快速排气的电压力锅限压排气阀有效
图片尺寸800x591
松桥mazuba电压力锅排气阀 安全阀 限压阀放气阀出气阀 锅盖配件
图片尺寸800x800