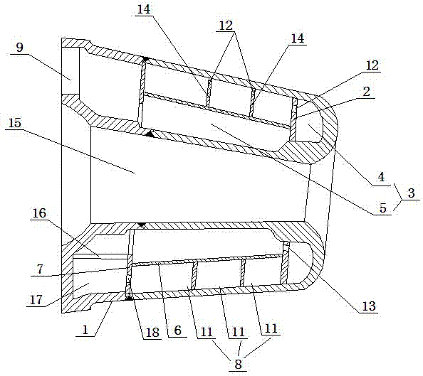
高炉风口套结构图

无水冷,与高炉炉壳焊接固定一起;风口中套为铜件水冷结构,与风口大套
图片尺寸420x596
cn206721241u_一种高炉风口小套有效
图片尺寸1000x692
一种高炉风口套的制造方法与流程
图片尺寸743x737
高炉风口装置的组成及使用要求
图片尺寸550x653
高炉风口套间密封缺陷及改进应用
图片尺寸295x151
一种旋流式双腔高炉风口小套的制作方法
图片尺寸1000x654
一种高炉风口小套-爱企查
图片尺寸852x757
高炉风口焦炭图像采集装置如图4所示,包括耐高温防尘套管,图像采集
图片尺寸691x532
cn102605124b_高炉变径风口小套有效
图片尺寸811x1000
邯钢8 号高炉风口带冷却壁破损原因及对策
图片尺寸319x237
一种高炉炼铁风口大套及其密封安装方法
图片尺寸1333x1926
一种复合高炉风口套
图片尺寸892x809
cn203411557u_高炉风口小套有效
图片尺寸594x529
高炉冶炼设备
图片尺寸733x475
红外热像仪在高炉风口检测中的应用
图片尺寸610x263
外部排风罩
图片尺寸600x427
一种可喷吹多种燃料高炉铜板风口套制造技术
图片尺寸1000x733
高炉风口大套在线修复技术及应用
图片尺寸398x331
红钢3高炉风口烧损的原因分析及对策
图片尺寸906x567
新型长寿高炉风口制造技术
图片尺寸1000x635