鱼卷简笔画

闽南特色名吃崇武鱼卷简笔画
图片尺寸900x600
闽南特色名吃崇武鱼卷简笔画
图片尺寸900x600
闽南特色名吃崇武鱼卷简笔画
图片尺寸900x600
美食麻辣烫
图片尺寸252x337
堆糖
图片尺寸400x265
五香条的简笔画
图片尺寸750x500
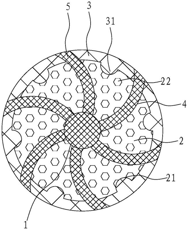
摘要附图摘要本实用新型涉及鱼卷领域,尤其涉及一种
图片尺寸652x800
鳝鱼卷手绘画素材图片
图片尺寸501x501
泉州元素插上文创翅膀
图片尺寸550x777
鱼卷图片
图片尺寸495x350
中国美食简笔画育儿早教教小朋友画食物
图片尺寸900x600
卡通纸画图片下载
图片尺寸290x290![漫画版#泉州美食#[心]面线糊润饼菜. 来自泉州美食爆料圈 - 微博](https://imgs.wantubizhi.com/img/735A5D1F980B52A636CC46F12F2D1A734F694B1AFBAED1AC7E3F9F066505D9DB667582915C0A3427FB7C1D77434F2516FCF339EA893B71D0F87E8507175550ACD117908598CA8B328F11B12E0C8EA9B1FDFE75F56FF1B7A6FD661A3F0A03981A)
漫画版#泉州美食#[心]面线糊润饼菜. 来自泉州美食爆料圈 - 微博
图片尺寸690x896
吃完这店我想当闽南人
图片尺寸640x453
吃完这店我想当闽南人
图片尺寸640x453
开封名吃简笔画
图片尺寸310x301
简单简笔画彩虹鱼
图片尺寸500x357
吴棠感化恶徒 | 贡发芹
图片尺寸411x483
福建省泉州市惠安县 鱼卷c级
图片尺寸486x336
民间故事:男子迷路,见金蛇难产出手相助,他举手之劳救了自己
图片尺寸640x458