鱼塘出水口结构图

鱼塘的排水口设计应按科学标准来设计,那么到底什么样的排水口设计才
图片尺寸694x634
某经典水池出水口d参考图
图片尺寸610x861
水池出水口详图
图片尺寸560x417
分享溢水口详图资料下载
图片尺寸687x502![[分享]消防水池溢水池管做法资料免费下载](https://imgs.wantubizhi.com/img/A1A61BAA66193547F3A6DD7D8EE527E9972EAB62B458A5BBED9B3DD8DF84AFE3592B7DF3CA9377D4DD004C47DD1F2DF8FD5568EE203299B25F76583A03EB93764BEDDE79D60DE903110B850113635DE1ABF081589C5D82C18F477DC1CA8C86DB)
[分享]消防水池溢水池管做法资料免费下载
图片尺寸560x322
鱼池建造图纸请大家指正
图片尺寸1000x707
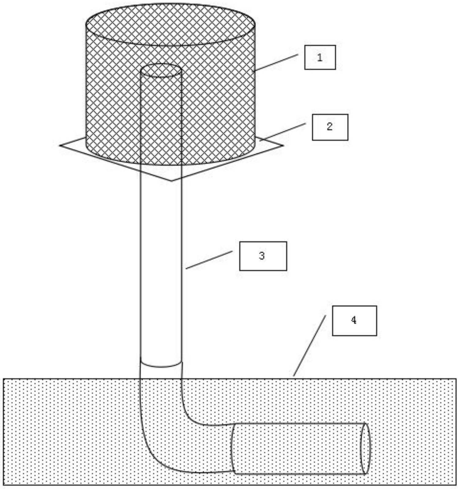
一种鱼塘排水装置制造方法及图纸
图片尺寸1000x768
10小池塘 大世界(课件 9张ppt)
图片尺寸860x645
鱼池过滤系统设计!
图片尺寸576x829
曝气池,生态浮岛,人工湿地,生态修复池,所述生态沟渠与鱼塘的出水口
图片尺寸1895x1267
淡水池塘养殖场规范化建设技术手册全文
图片尺寸311x245
锦鲤鱼池 鱼塘 海鲜池 水景池 景观池水面过滤式排水口水面吸水口
图片尺寸750x750
平台上开设的孔并与之相固定,防逃笼的四周将排水管道的出水口笼罩
图片尺寸1503x1596
淡水池塘养殖水处理方法及复合生态沟渠
图片尺寸1888x1472
一种便于更换水分的智能养鱼塘制造技术
图片尺寸1000x657
背景技术:在鱼塘,水稻田等农田灌溉工程中,为了对池塘或农田内的水位
图片尺寸1000x908
095610la1a19o0wc5ansy2.jpg
图片尺寸1000x448
池塘底排污技术应用于草鱼精养模式的探索与研究
图片尺寸323x293
某镇村蓄水池鱼塘工程
图片尺寸388x280
池塘进排水这样设计水质调节不再愁!(附详细施工图)
图片尺寸599x546