黄油枪内部构造图

巨霸at-6036 气动黄油枪
图片尺寸600x861
尽管我们经常加油,但很少会有人琢磨油枪的内部的构造.
图片尺寸1024x693
dt120l 油枪
图片尺寸633x464
手动黄油枪单双压杆挖掘机高压汽车黄油机润滑自吸透明牛油抢小型
图片尺寸790x1315
klube黄油枪#黄油枪 #毛毛虫黄油枪 #天之蓝黄油 天 - 抖音
图片尺寸750x1051
自封式加油枪使用及维修保养
图片尺寸451x450
油枪反复跳枪是加油员在偷油?_油箱_故障_空气
图片尺寸568x325
usna03自封加油枪盛替换
图片尺寸750x384
油枪
图片尺寸1024x819
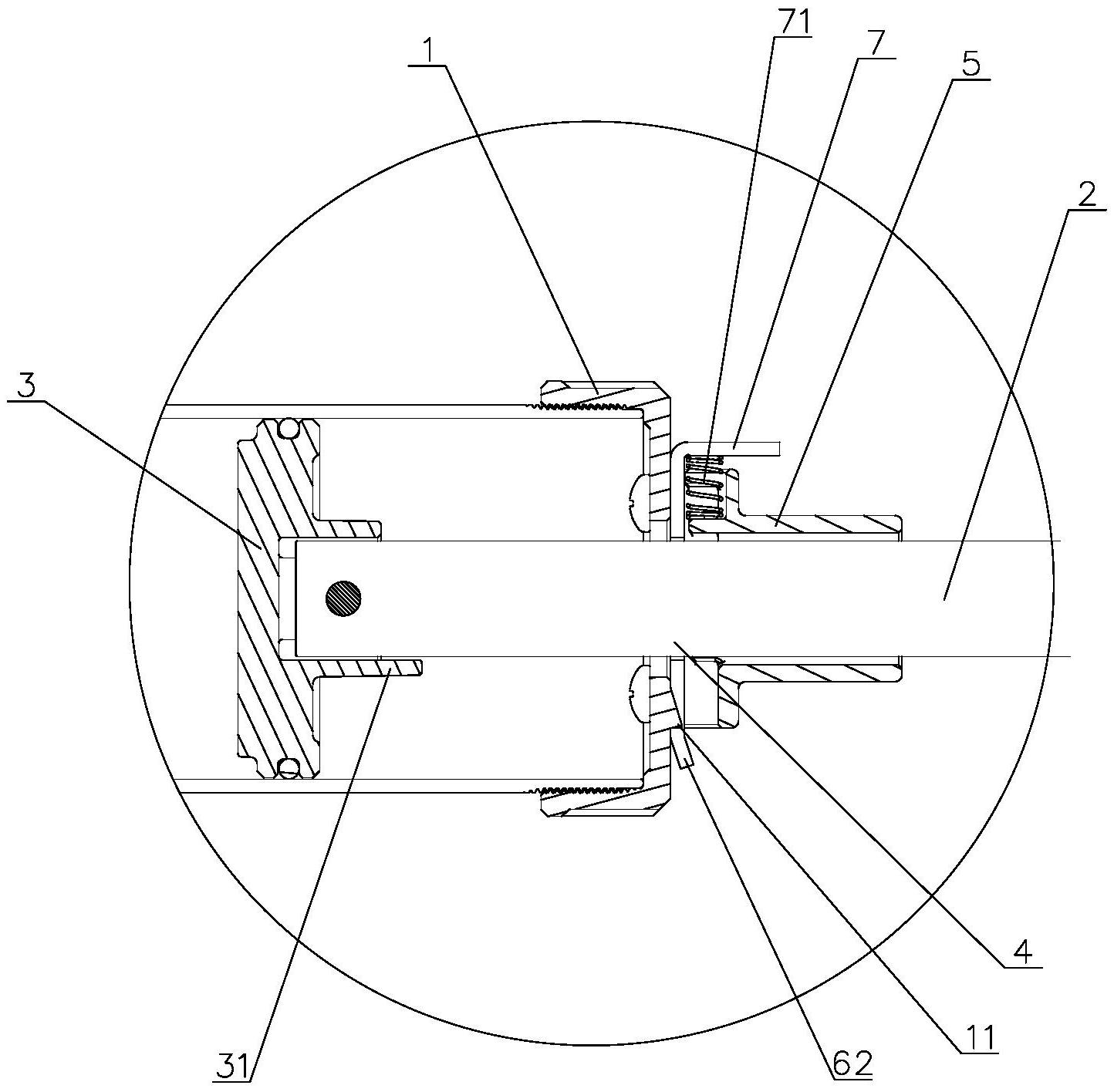
一种便捷高效手枪式气动黄油枪的制作方法
图片尺寸606x559
计量加油枪军工机械式油枪军华旋翼式柴油汽油甲醇加油表流量计甲醇枪
图片尺寸703x504
黄油枪手动蓝色双压杆挖掘机汽车重型牛油枪高压自吸黄油枪 批发
图片尺寸790x1289
供应美国史丹利专业级黄油枪 各式手用黄油枪 史丹利工具
图片尺寸642x1024
电动黄油枪24v充电式挖机专用全自动锂电高压黄油枪电动 12v电瓶款
图片尺寸790x1251
黄油枪拉杆锁定结构-爱企查
图片尺寸260x254
气动黄油机润滑油脂抽油泵黄油加注机黄油枪轴承高压注油器黄油机
图片尺寸750x1057
北方课堂:今日课程内容——拆解加油枪结构
图片尺寸640x494
cn106145019a_一种新型油气回收型加油枪有效
图片尺寸1000x584
手动黄油枪单双压杆挖掘机挖机打牛油抢高压神器自吸全自动气动透明款
图片尺寸790x1035
看似简单的加油枪,其实内里乾坤门道可不少
图片尺寸712x489