鼎和保险电话

南方电网鼎和保险深入开展主题教育扎实推动产业金融高质量发展
图片尺寸557x424
各大保险公司服务电话
图片尺寸1080x616
鼎和保险车险官网 鼎和车险服务好不好
图片尺寸409x406
鼎和保险客服中心自2012年9月开始运营,采取全国集中管理,全年365天24
图片尺寸640x322
鼎和保险公司捐赠亿元保险保障助力乡村振兴
图片尺寸7500x5002
鼎和雇主责任险2024版条款 价格表_保险测评_沃保保险网
图片尺寸611x636
鼎和保险公司
图片尺寸538x336
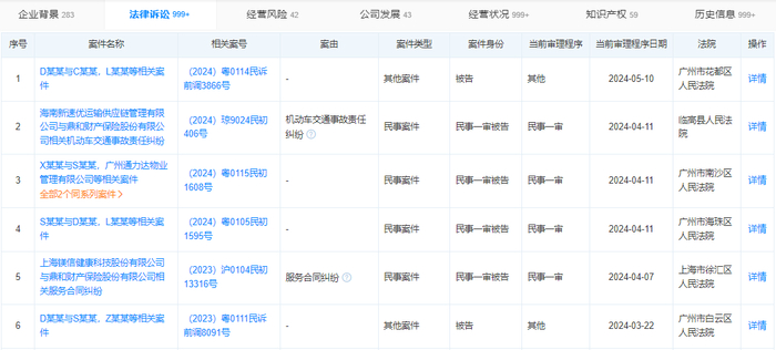
鼎和保险3个月25起被告案件三年达249起被官司10次被法院列为老赖案件
图片尺寸700x316
鼎和保险广西分公司积极开展315金融消费者权益保护教育宣传活动
图片尺寸600x450
鼎和财产保险股份有限公司盛装参加2019国际充电桩展&电动出行展
图片尺寸650x208
鼎和保险入的什么编制 鼎和保险官网
图片尺寸784x949
鼎和保险公司
图片尺寸482x261
鼎和保险贵州分公司积极开展315消费者权益保护宣传活动
图片尺寸650x433
鼎和保险:"金融脉搏"与特区建设同频共"圳"_深圳经济特区_企业_风险
图片尺寸800x1733
深圳鼎和大厦租120人独立办公室精装修带家具交通便利可注册
图片尺寸1840x1227
鼎和保险靠谱,理赔痛快,买的隔离险,被隔离一天赔偿200,已到账.
图片尺寸960x1280
鼎和车险加盟费要多少
图片尺寸600x400
鼎和保险
图片尺寸1200x674
鼎和财险新任董事长郑添之前没有保险经验来自南方电网还有身份
图片尺寸600x338
开学必备 #新生入学攻略 - 抖音
图片尺寸1080x1353