齿轮箱结构

一级圆柱齿轮齿轮箱 齿轮箱结构及原理 pdm-振动分析知识交流课堂
图片尺寸1080x810
齿轮箱作为连接主机与螺旋桨的载体,基本结构分为:输入部件,传动部件
图片尺寸646x589
3,采用吸音箱体结构,较大的箱体表面积和大风扇,齿轮箱的主要零部件
图片尺寸800x591
行星齿轮箱的功能工作原理
图片尺寸640x524
cn213575361u_一种用于皮带输送机的三级垂直传动齿轮箱有效
图片尺寸1819x1232
用增速齿轮箱,其采用输入行星轮系 二级平行轴的结构形式进行动力传递
图片尺寸1863x1948
齿轮箱剖分结构
图片尺寸640x434
风机齿轮箱讲义ppt
图片尺寸1080x810
一种带模块化组合密封结构的立磨齿轮箱
图片尺寸1877x1559
cn201747913u_风力发电机组增速齿轮箱有效
图片尺寸2086x2003
图2 齿轮箱结构
图片尺寸518x440
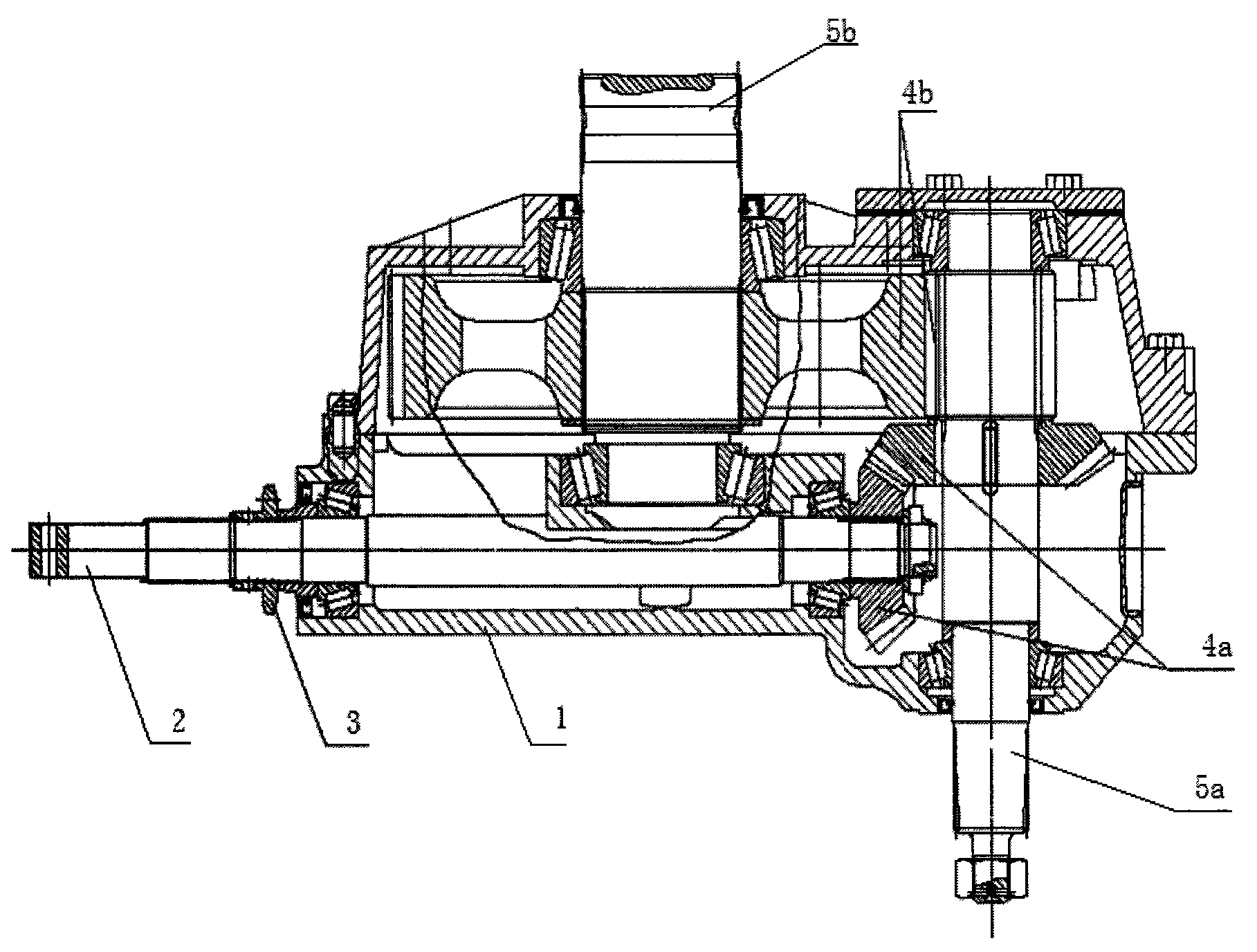
一种车轴齿轮箱,转向架及工程车辆
图片尺寸1835x1016
图2齿轮箱结构
图片尺寸893x430
fp series fi-fi brochure gearbox
图片尺寸550x530
一种两级行星传动齿轮箱
图片尺寸1173x1242
动平衡机用齿轮箱
图片尺寸1000x925
cn202040282u_大功率风力发电机用增速齿轮箱有效
图片尺寸800x996
工业齿轮箱结构
图片尺寸923x638
齿轮箱装配图_至和网zhwtk.com
图片尺寸1200x800
输出轴,齿轮副及链轮,打捆机动力传动齿轮箱箱体采用封闭式结构,两级
图片尺寸1817x1376