齿轮限位结构

行星齿轮轴向限位结构-爱企查
图片尺寸921x1572
齿轮转动限位器_1
图片尺寸378x360
一种汽车空调冷暖齿轮限位结构的制作方法
图片尺寸1860x1026
一种具有限位机构的齿轮的制作方法
图片尺寸1675x2082
一种限位式精密齿轮
图片尺寸1653x1773
图中齿轮如何上限位的?
图片尺寸804x702
一种齿轮机构多圈旋转的限位机构
图片尺寸408x352
一种齿轮限位,防尘机构制造技术
图片尺寸1000x989
手机支架齿轮齿条限位
图片尺寸1080x1920
关于齿轮,这是我见过最完整的一篇文章,看完全明白了
图片尺寸618x720
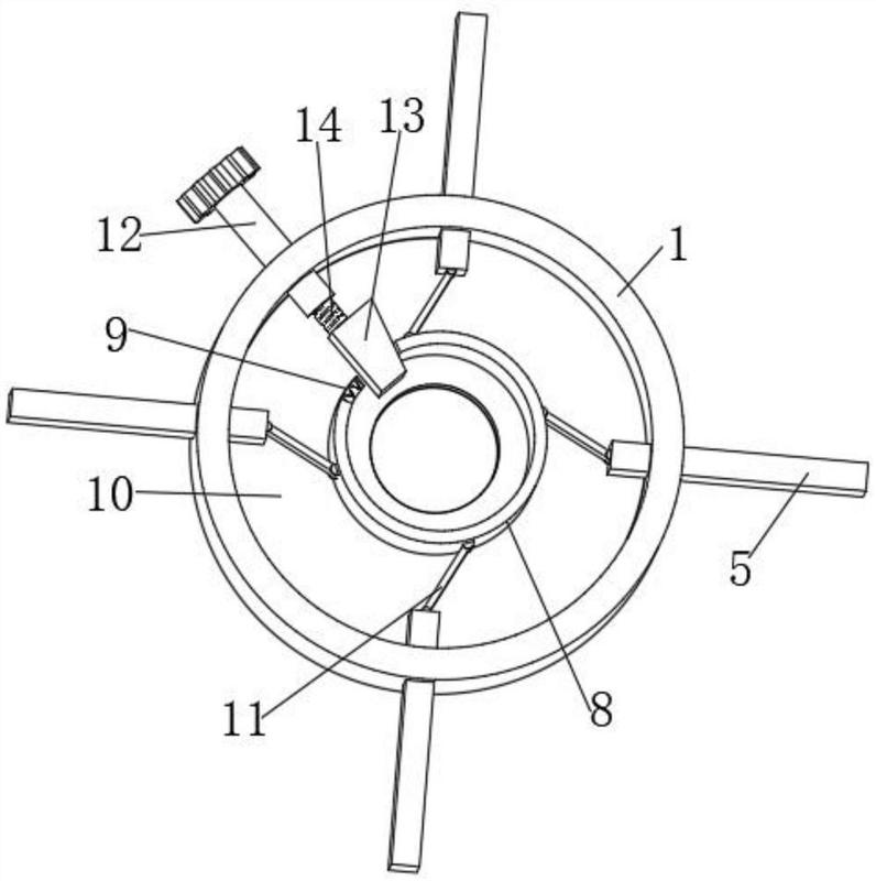
底座内连接有转动结构,转动结构包括有转框,转框上侧连接有限位结构
图片尺寸1631x1978
cn102108997a_一种限位机构有效
图片尺寸2420x1514
一种消除旋转限位开关齿轮回程误差的结构-爱企查
图片尺寸423x328
一种单向器的驱动齿轮限位结构的制作方法
图片尺寸949x1000
cn104179917b_一种差速齿轮回转限位机构有效
图片尺寸846x953
一种具有限位结构的潜水泵-爱企查
图片尺寸796x800
一种差速齿轮回转限位机构制造技术
图片尺寸846x953
机械设计名词之齿轮
图片尺寸695x720
cn210436142u_基于工业机器人齿轮传动的限位夹紧机构有效
图片尺寸814x1000
cn213176551u_一种抽架内扇形齿轮限位机构
图片尺寸1638x1238