007484

信澳核心科技混合007484
图片尺寸540x340
信澳核心科技a(007484)_基金最新净值_中财网
图片尺寸540x340
今日股市行情007484
图片尺寸520x342
菲拉格慕 salvatore ferragamo 男式正装皮鞋 timoro q00007484 11.
图片尺寸740x925
今日股市行情007484
图片尺寸617x374
001956基金净值查询今天最新净值007484_001956基金净值查询 - 海棠网
图片尺寸600x400
落袋为安,静等机会_信达澳银核心科技混合(of007484)股吧_东方财富网
图片尺寸978x588
过两周接回来_信达澳银核心科技混合(of007484)股吧_东方财富网股吧
图片尺寸500x264
信达澳银核心科技混合(of007484)股吧_东方财富网股吧
图片尺寸1242x963
说一下为什么建仓信达澳银核心科技007484,并且打算未来用这个把华夏
图片尺寸921x1358
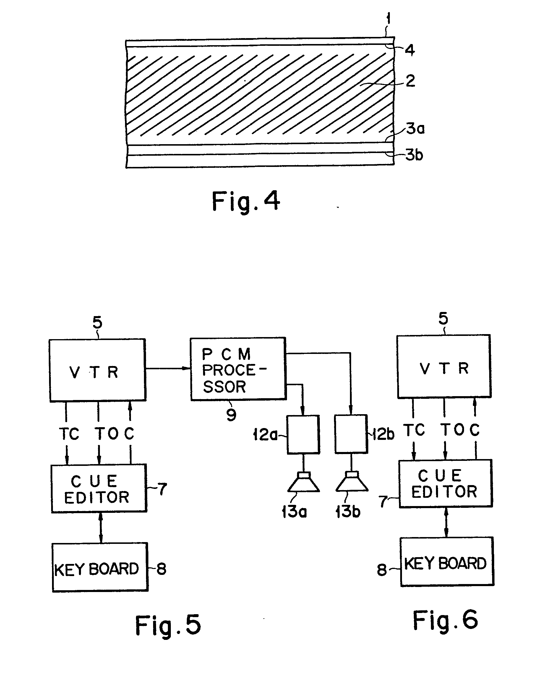
专利ep0074841b1 - recording and using cue data - google 专利
图片尺寸1697x2781
专利ep0074841b1 - recording and using cue data - google 专利
图片尺寸1827x2312
基金操作策略暴涨半导体芯片一战封神
图片尺寸1080x1426
有参考_信达澳银核心科技混合(of007484)股吧_东方财富网股吧
图片尺寸1334x611
基金操作策略暴涨半导体芯片一战封神
图片尺寸1080x581
信达澳银核心科技混合(of007484)股吧_东方财富网股吧
图片尺寸469x500
ep 0007484 b1
图片尺寸1903x1940
基金##基金
图片尺寸690x959
说一下为什么建仓信达澳银核心科技007484,并且打算未来用这个把华夏
图片尺寸922x1849
专利ep0007484a1 - process for the preparation of
图片尺寸2112x2597