008274

氏族公社繁荣时期原始居民008274徐成.ppt
图片尺寸1152x864
75单色模组 商品编号:ecs008274 上架时间:2017-03-17 商品毛重:0克
图片尺寸720x257
【菲你莫属第十六季】非本店会员禁止转让!
图片尺寸497x537
面料(nh2008274)
图片尺寸500x723
大成行业先锋混合a008274
图片尺寸540x340
字典 cas查询 cas 330202-31-8中文名称: 英文名称: cbmicro_008274
图片尺寸1272x662
methylsilane(订货以英文名称为准) cas号 75-76-3 mdl mfcd00008274
图片尺寸300x300
天风证券基金发行周报200308
图片尺寸750x460
女装条纹经典百搭手提包
图片尺寸510x580
sexy lingerie amk008274_w-2x501-668.
图片尺寸501x668
sunaunawampisu短袖花纹黑色总花纹女士38日本制造三国丘商店008274
图片尺寸600x600
women sexy boots shoes high heels pumps 008274
图片尺寸750x673
麦夕mocci女装夏装移动端专场花色印花长袖收腰优雅连衣裙md66008274
图片尺寸1100x1390
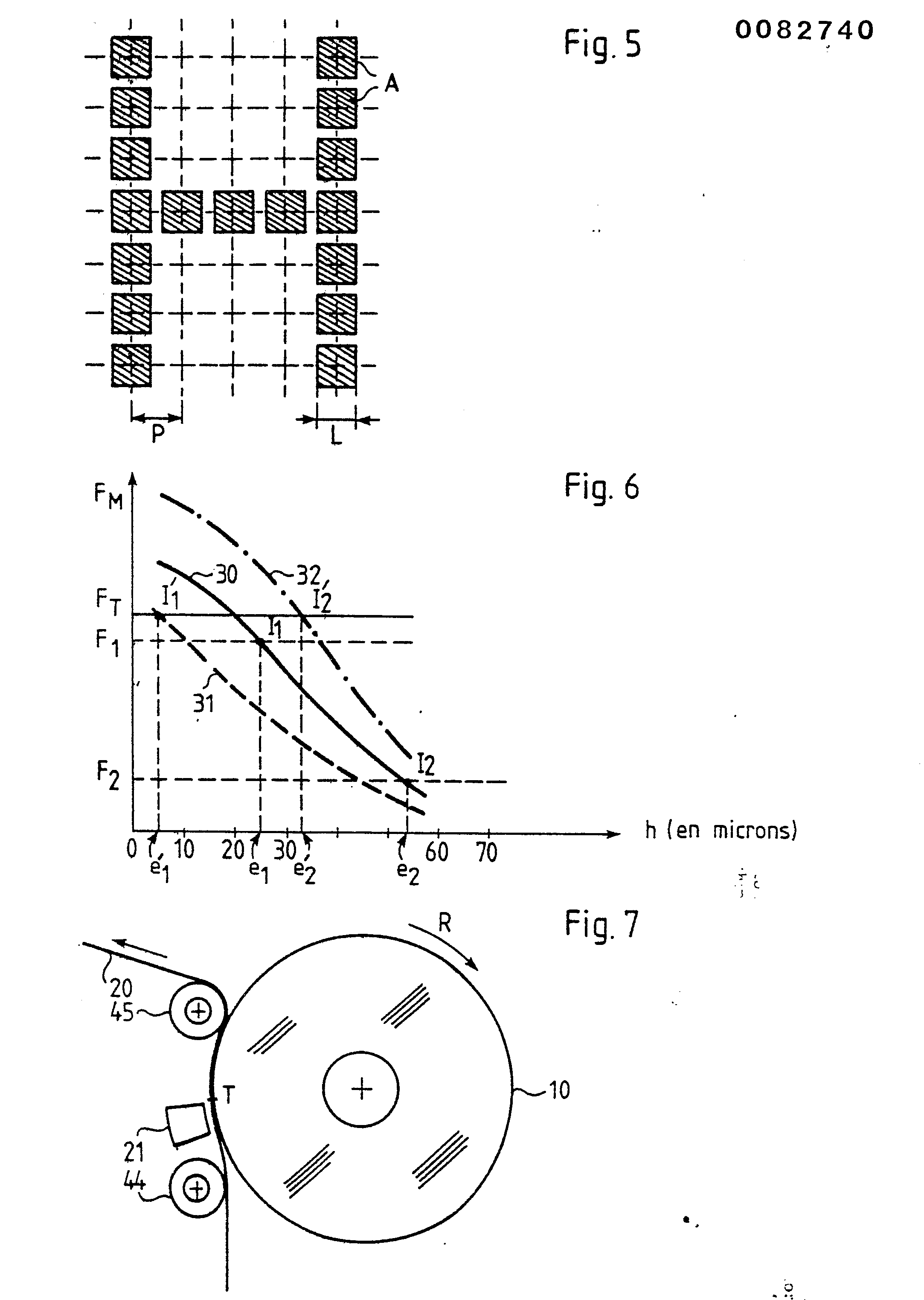
专利ep0082741b1 - procédé et machine dimpression magnét
图片尺寸1764x2742
sexy lingerie amk008274_nb-2x501-668.
图片尺寸501x668
【雄狮】nc-003 奶油狮留言便条(附盒)
图片尺寸400x400
秋韵
图片尺寸506x900
商品货号008274收藏 (0)分享自营售价¥评价(已有0人评价)规格配送
图片尺寸400x400
专利ep0082741b1 - procédé et machine dimpression magnét
图片尺寸1830x2730
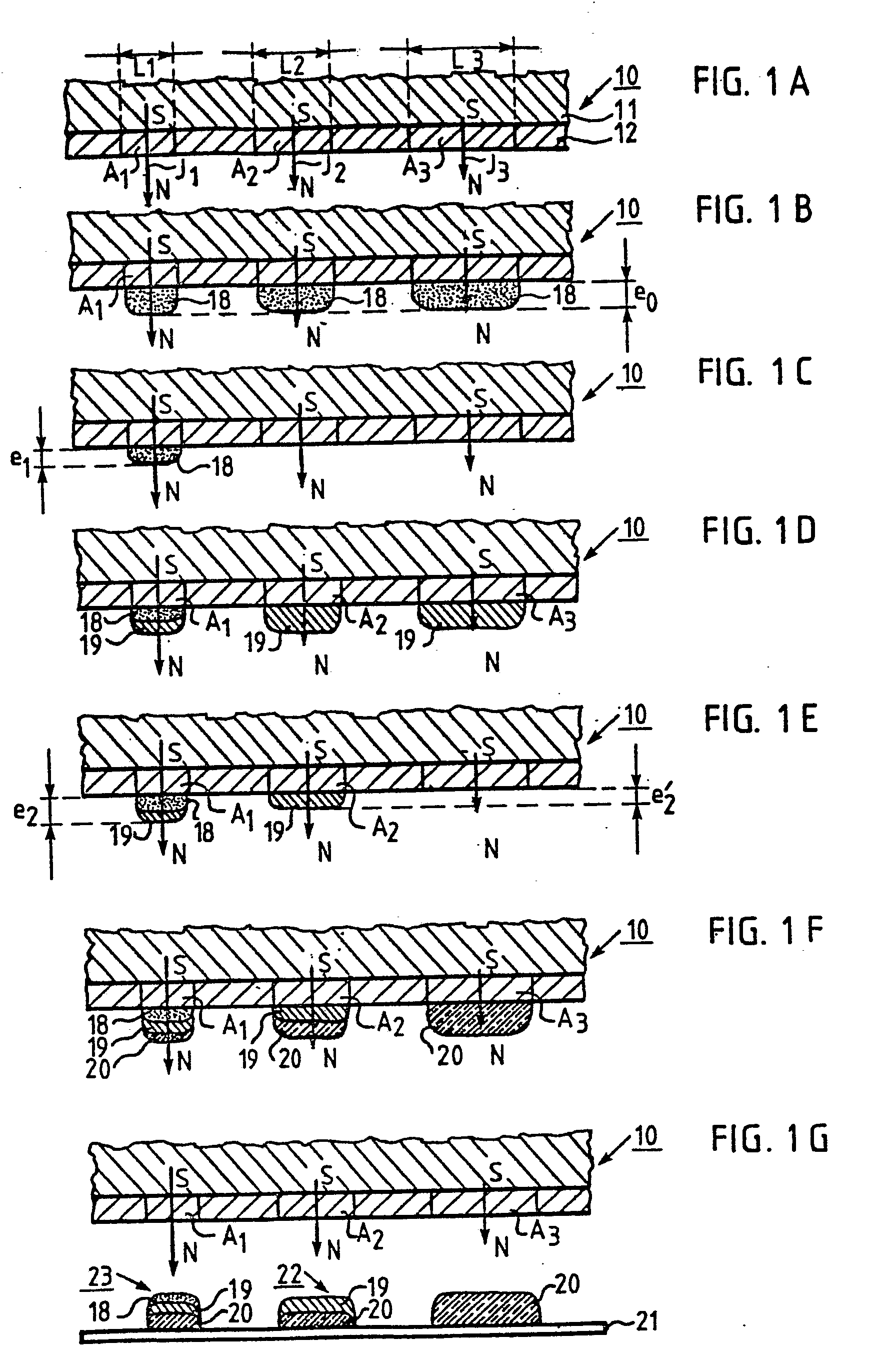
专利ep0082740a2 - procédé et machine dimpress
图片尺寸2166x3046