008545

008545
图片尺寸405x202
泓德丰润三年持有期混合(008545)基金净值_估值_行情走势—天天基金网
图片尺寸451x281
115你有过卖飞大牛股的经历吗
图片尺寸738x469
泓德丰润三年持有期混合(of008545)股吧_东方财富网股吧
图片尺寸690x320
有点差_泓德丰润三年持有期混合(of008545)股吧_东方财富网股吧
图片尺寸1080x1891
信鸽在线拍卖平台 - 中国信鸽信息网
图片尺寸777x640
泓德丰润三年持有期混合008545
图片尺寸540x340
基金008545,169101基金
图片尺寸500x320
泓德和睿远两只新基金,三个月涨35%,三年持有期值得买吗?
图片尺寸327x386
周易玩辞集解卷十008545
图片尺寸628x633
泓德和睿远两只新基金,三个月涨35%,三年持有期值得买吗?
图片尺寸324x196
伤心图片
图片尺寸170x168
w 2周前 @梦言【晓叶】(o834008545) 半夜召唤梦言,看我涩费斑.
图片尺寸1080x1920
据悉,泓德丰润三年持有期混合(008545)成立于2020年1月5日,截至2021年
图片尺寸685x356
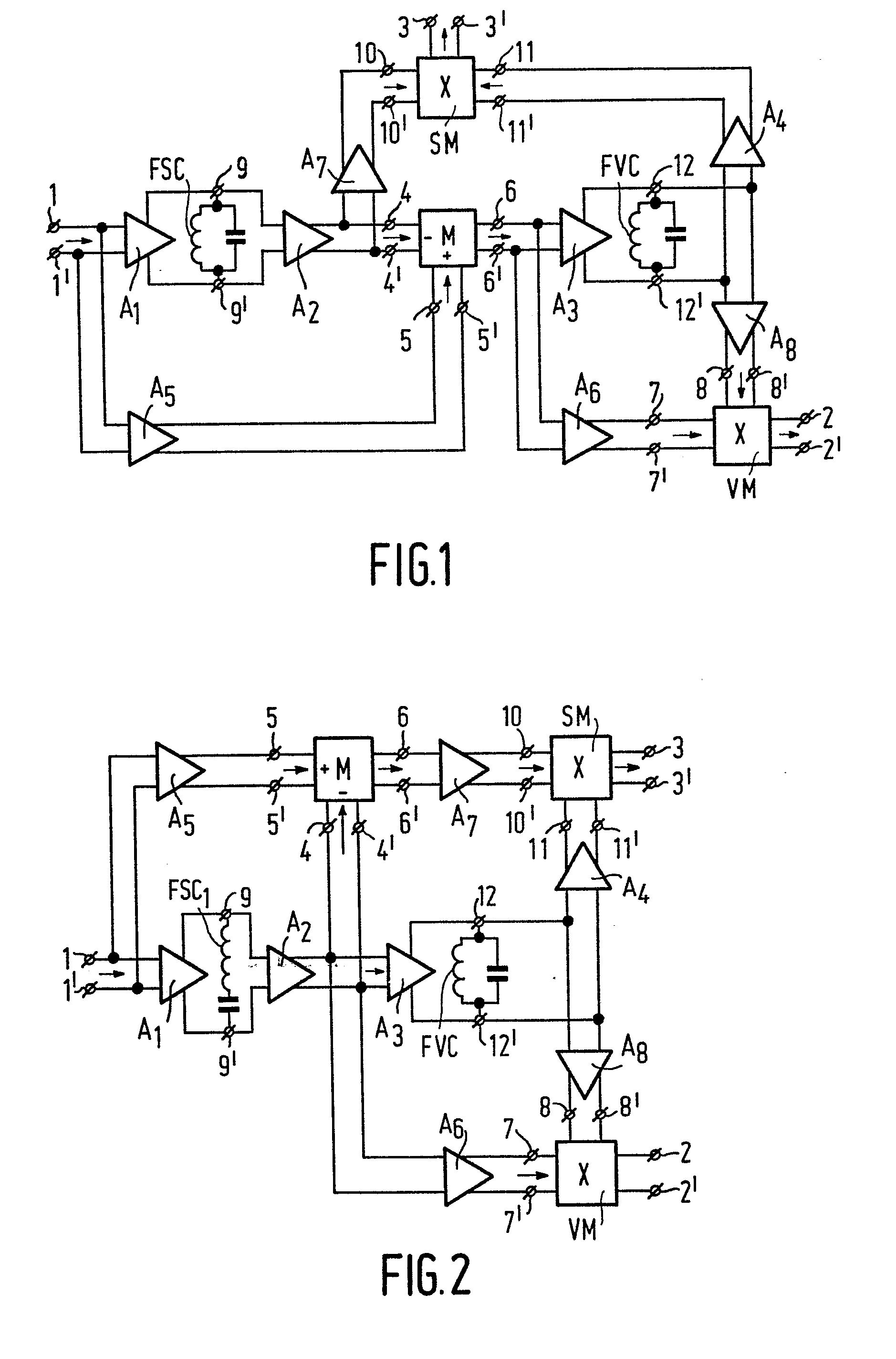
tv-if circuit
图片尺寸1878x2845
zealer晨报
图片尺寸724x1024
图片编号: tpgrf-xtpe008545 标 题
图片尺寸670x447
品牌型号: 奥迪牌waur2b4h;车架号: waur2b4hxdn008545;发动机号
图片尺寸640x281
juicy/橘滋 欧美代购 女款折扣棉质连帽拉链长袖卫衣jg008545包邮
图片尺寸750x926
光线传媒最新公告拟7500万元15亿元回购股份
图片尺寸470x380