009601

2ttiss 铁仕 春夏新款 专业男士户外速干功能t恤 009601
图片尺寸400x400
22春夏款户外轻便透气抓地缓震防滑耐磨徒步鞋dm0096 dm0096010(黑)
图片尺寸800x800
【姜饼熊】德国直邮wusthof三叉ikon经典不锈钢刀具组合009601
图片尺寸800x800
智焕新装修建材翻新一站搞定(no.009601店)
图片尺寸340x255
id: qj6502539867 作品编号:zef009601
图片尺寸670x447
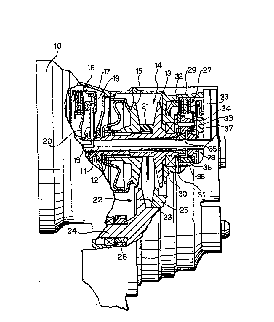
专利ep0096011a1 - drive transmission device for motor vehicles
图片尺寸925x1088
以人民的名义境外不是法外揭秘海外追逃的法律利器
图片尺寸800x449
009601什么时候可以卖,009601基金管理人
图片尺寸500x320
南财基金通股票型基金收益排行榜3月27日
图片尺寸371x744
商品编号:l521009601 此商品来源于日本雅虎网站
图片尺寸800x800
2022016期思路解析主看小数013上胆期待好运
图片尺寸640x340
商品编号:l521009601 此商品来源于日本雅虎网站
图片尺寸800x800
商品编号:l521009601 此商品来源于日本雅虎网站
图片尺寸800x800
休闲长款衬衫连衣裙
图片尺寸750x990
2-009601) hysteric ヒステリック ベルト 茶
图片尺寸447x640
长兴哈弗媒体联谊会圆满结束
图片尺寸1269x952
2-009601) hysteric ヒステリック ベルト 茶
图片尺寸422x640
d24 sneakers in white suede and leather in white,beige,red
图片尺寸1500x2000
ciaopanic(チャオパニック)
图片尺寸385x500
长兴哈弗媒体联谊会圆满结束
图片尺寸1269x952