009874

九泰久睿量化股票009874
图片尺寸540x340
九泰久睿量化股票009874
图片尺寸540x340
编号: 009874 类型: 纪念币 品牌: 中国人民银行
图片尺寸790x500
薛氏医案卷五009874
图片尺寸615x626
九泰久睿量化a(009874) - 行情中心 - 搜狐基金
图片尺寸530x374
编号: 009874 类型: 纪念币 品牌: 中国人民银行
图片尺寸790x490
超霸系列 超霸38毫米腕表 with a two-piece straps
图片尺寸600x918
年度色彩2023年度最美的十个绿色配色
图片尺寸660x961
艾芮丝·弗瑞蒂克素色紧身七分打底裤yq00009874_唯品会
图片尺寸420x530
square ,palmerston north,new zealand dsc 009874 | flickr – 相片
图片尺寸500x375
kean-009874_v2 | flickr – 相片分享!
图片尺寸500x308
灰棕色鳄鱼皮表带,搭配针扣 两件式表带 032cuz00
图片尺寸600x882
id: zrgrf-ing-009874
图片尺寸640x959
罪与罚
图片尺寸1200x675
amat 009874-104 pcb
图片尺寸300x300
dorlan花豹水晶长项链wt009874_唯品会
图片尺寸1100x1390
dorlan花豹水晶长项链wt009874_唯品会
图片尺寸1100x1390
红粉佳人3a级天然粉晶手链8mm中码附证书
图片尺寸600x600
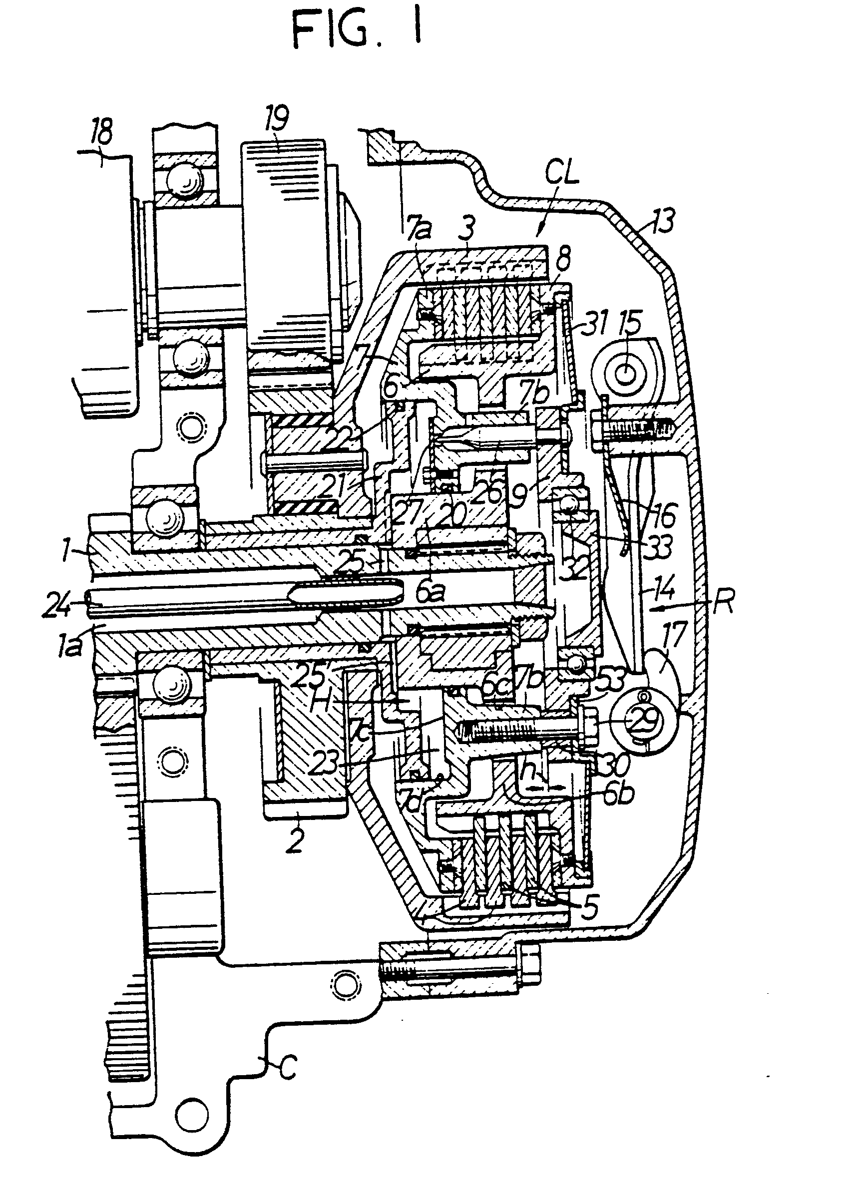
friction clutch device
图片尺寸2164x2770
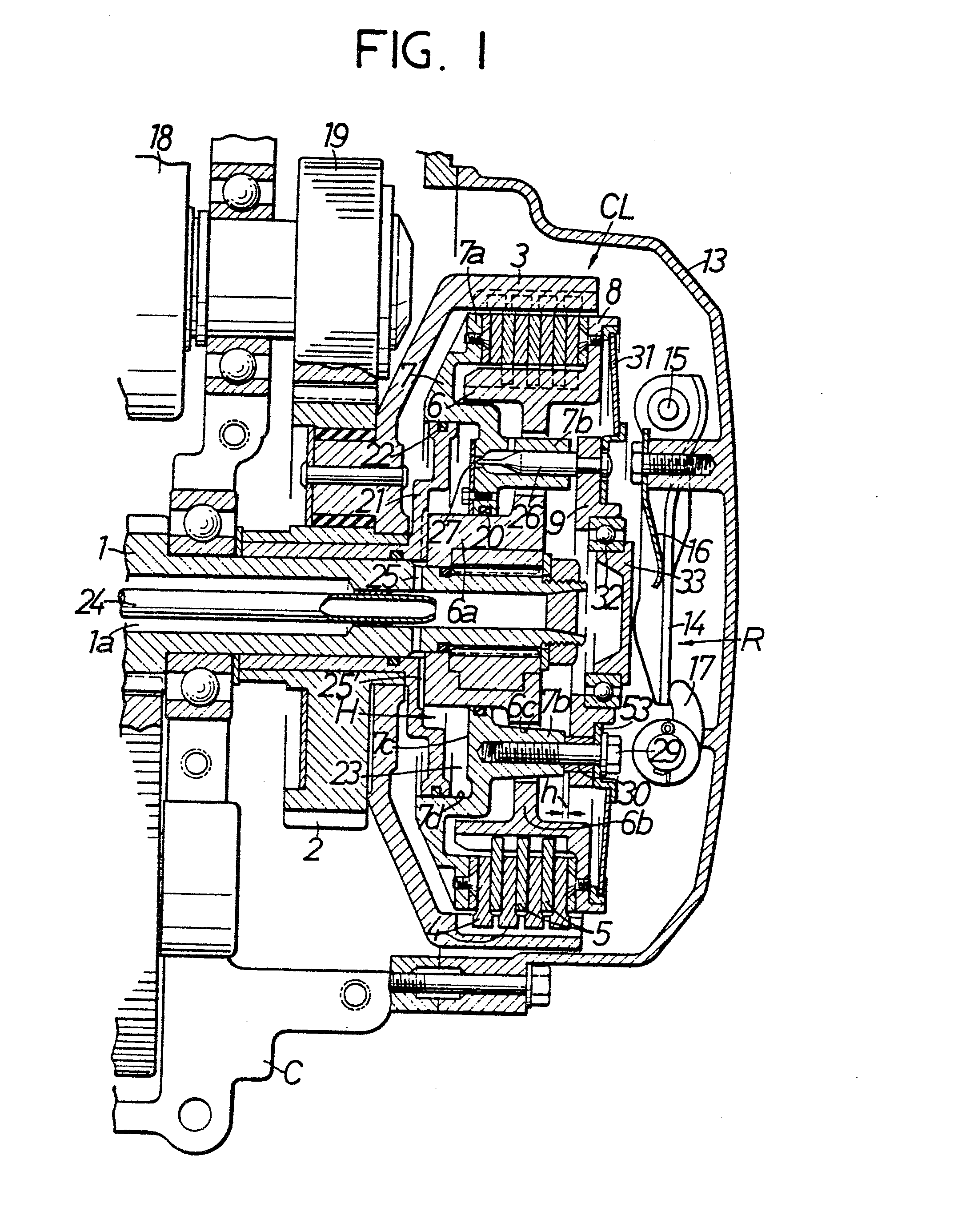
friction clutch device
图片尺寸1724x2391