009967

博时荣泰混合009967
图片尺寸540x340
博时荣泰混合009967
图片尺寸540x340
博时荣泰混合(009967) - 行情中心 - 搜狐基金
图片尺寸530x374
博时保泰基金(009967博时基金)
图片尺寸640x330
作 者:xq009967 内 容: 缘起缘灭,从此世间再无东荒俊疾山的素素
图片尺寸353x418
l1009967
图片尺寸2496x3840
0 0 id编号:009967 尺寸:6132 x 8176 浏览: 下载: 0
图片尺寸1200x1600
1_119556_c9800996754f463.jpg
图片尺寸559x388
活动照片- 那个戴上帽子最美的女人
图片尺寸338x475
商品编号:q261009967 此商品来源于日本雅虎网站
图片尺寸1200x900
黑金魅影长项链
图片尺寸1100x1390
现场劲爆!300名特警齐聚安庆大比武(组图)
图片尺寸5624x3644
2,5-二溴-6-异丙基-3-甲基-1,4-苯醌
图片尺寸600x600
l1009964l1009967
图片尺寸798x1200
durasquare 内嵌玻璃 #009967 | duravit
图片尺寸375x460
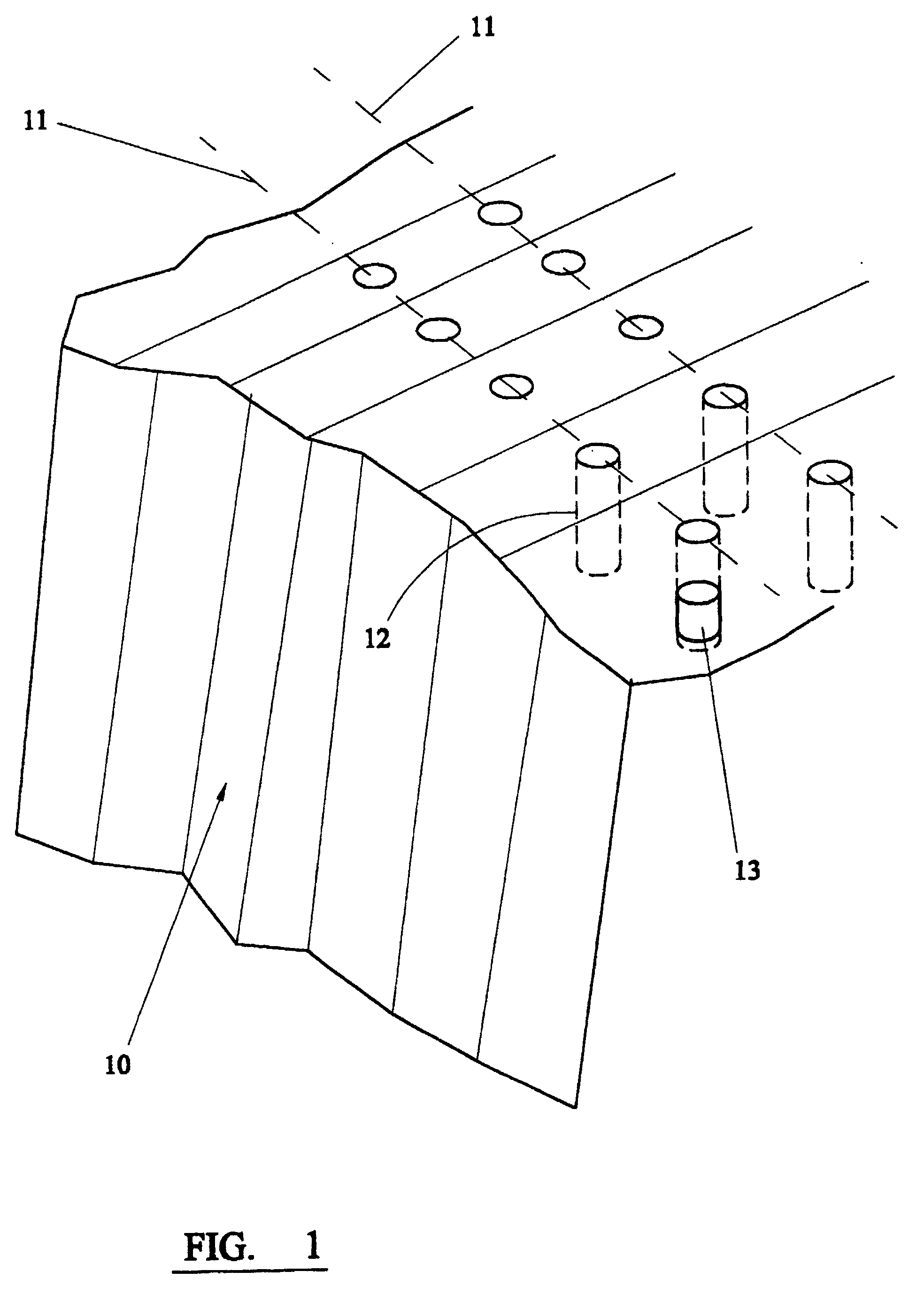
专利ep1009967b1 - detonation sequentielle de charges explosives
图片尺寸1968x2773
全部图片
图片尺寸670x447
00g 货号:p16ch009967 腰型:中腰 风格:ol通勤 领型:立领 质地:棉
图片尺寸790x945
专利ep0099672a2 - trans-delta 2-prostaglandin d derivatives
图片尺寸1588x2533
00g 货号:p16ch009967 腰型:中腰 风格:ol通勤 领型:立领 质地:棉
图片尺寸790x907