02e阀体分解图

阀体零件图
图片尺寸1403x1984
阀体零件结构分析及工艺规程设计
图片尺寸1013x857
阀体零件结构分析及工艺规程设计
图片尺寸1680x1660
调节阀阀体结构图
图片尺寸600x320
阀体零件图pdf
图片尺寸800x568
阀体零件图.pdf
图片尺寸800x566
图所示的阀体零件图回答下列问题
图片尺寸684x740
a3阀体零件图pdf
图片尺寸800x1132
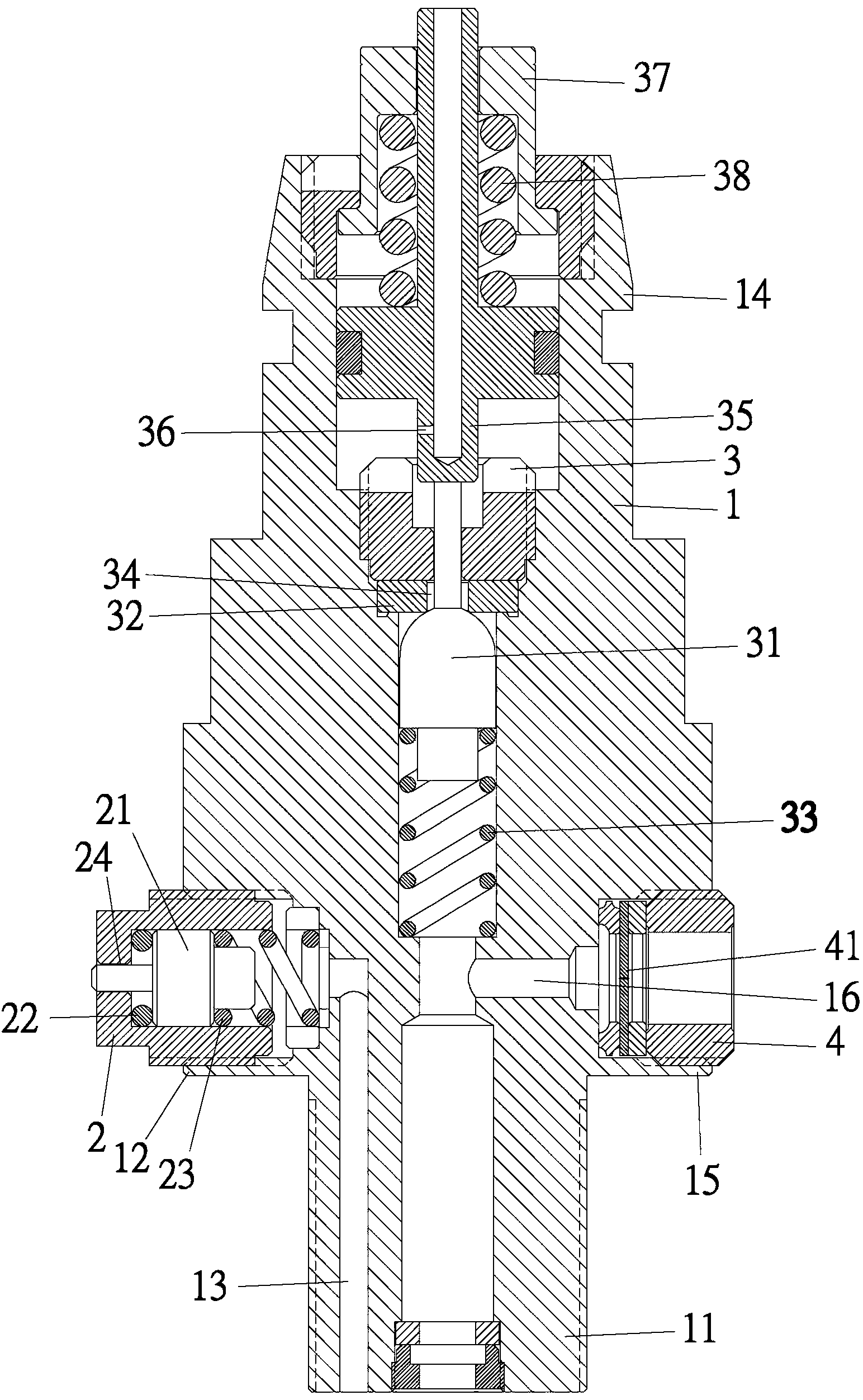
具压力表的外接式阀体结构
图片尺寸1544x2504
1阀体零件图pdf
图片尺寸800x568
奥迪cvt变速器01j和01t的阀体修复技术
图片尺寸1356x1573
阀体机械加工工艺及夹具设计(2)带cad图和文档
图片尺寸781x594
k108-阀体的工艺规程及车床夹具设计【车m24,22孔阶梯孔】【含cad图纸
图片尺寸1131x800
阀体 3.jpg
图片尺寸1752x1239
机械工程制图手压阀阀体零件图读图-枫之恋_-默认收藏夹-哔哩哔哩视频
图片尺寸1728x1080
球阀阀体零件图_至和网zhwtk.com
图片尺寸1200x800
电磁阀基础阀体各部分解图
图片尺寸640x441
主要技术参数: ●阀体 以上原创由中隆智控编辑,未经许可,不得转载.
图片尺寸423x500
阀体装配图不会看
图片尺寸1200x1600
丹佛斯电磁阀工作原理,丹佛斯电磁阀阀体分解图
图片尺寸1338x725