1999cc

【第二次拍卖】沃尔沃1999cc多功能乘用小型普通客车1辆
图片尺寸897x598
(拍卖成功)广西贺州市一辆林肯1999cc小型普通客车
图片尺寸640x480
【第一次拍卖】沃尔沃1999cc多功能乘用小型普通客车1辆
图片尺寸897x598
揽胜极光1999cc越野车拍卖公告
图片尺寸900x600
1999年上牌大众cc
图片尺寸640x359
1999年上牌大众cc
图片尺寸600x450
(桂dd3456)沃尔沃1999cc小轿车拍卖公告
图片尺寸900x596
沃尔沃1999cc小型轿车拍卖公告
图片尺寸900x600
沃尔沃1999cc多功能乘用车车牌号桂bvv576网络拍卖公告
图片尺寸720x960
沃尔沃1999cc小轿车拍卖公告
图片尺寸900x530
路虎极光1999cc机动车拍卖公告
图片尺寸900x600
【第二次拍卖】路虎极光1999cc
图片尺寸900x600
【第一次拍卖】韶山市人民法院起亚佳乐1999cc小客车
图片尺寸900x675
【第一次拍卖】揽胜极光1999cc越野车
图片尺寸900x539
【第二次拍卖】路虎极光1999cc
图片尺寸900x600
神行者 1999cc越野车salfa2bg
图片尺寸1024x768
【第二次拍卖】吉cg3555 揽胜极光1999cc越野车
图片尺寸900x600
(拍卖成功)广西贺州市一辆林肯1999cc小型普通客车
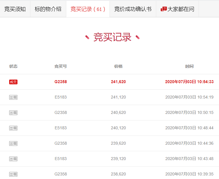
图片尺寸740x605
排 引擎型式:自然进气, 直列4缸, dohc双凸轮轴16气门 排气量:1999cc
图片尺寸1478x1108
【第一次拍卖】车牌号为豫a1xl71揽胜极光1999cc越野车
图片尺寸900x600