310388

悍途户外秋季纯色简约风格城市户外休闲鞋310388·男款-黑色
图片尺寸800x800
申万菱信消费增长混合a310388
图片尺寸451x281
维多利保罗victory polo男士皮具专场啡色头层牛皮斜背包a310388-1
图片尺寸1100x1390
310388次打火测试疑问:不锈钢的"蝶变"是否预示着燃热的创新方向?
图片尺寸640x426
金牛座517happybirthday
图片尺寸1080x1439
柒牌绅士灰黑色针织休闲长袖衬衫703a310388_唯品会
图片尺寸1100x1390
(310388)晨光(m&g) awt90991 横式皮质证件卡 50只/盒 $78.48
图片尺寸800x800
申万菱信消费增长净值申万菱310388
图片尺寸640x330
柒牌绅士灰黑色针织休闲长袖衬衫703a310388_唯品会
图片尺寸383x483
建行基金篇
图片尺寸878x1044
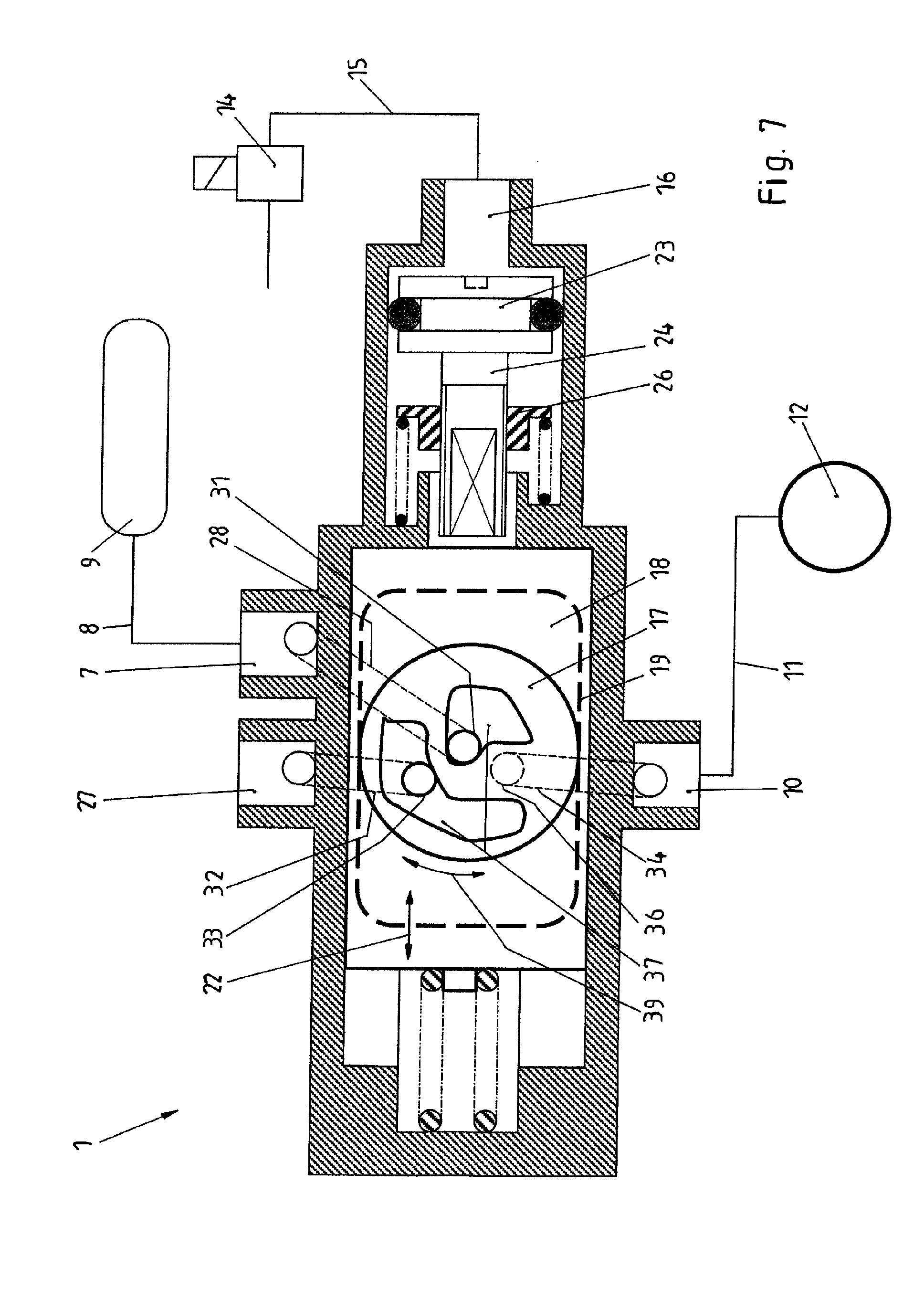
专利ep1310388a2 - soupape de régulation de nive
图片尺寸1936x2744
310388_宜华健康牛叉诊股
图片尺寸939x939
我国的人民币,在国外不叫人民币?叫法很洋气,涨知识了!
图片尺寸640x480
2014春新款 名媛风采气质高领短袖透视 纯色修身 连衣裙ym1310388图片
图片尺寸640x1073
怦然心动追星
图片尺寸641x360