321025

绝对新款正品赛琪男跑步鞋批发 321025两色
图片尺寸700x462
赛琪saiqi秋季男款超轻耐磨缓震提升跑步鞋 321025 草绿色 42
图片尺寸800x800
浙江省金华市婺城区白龙桥镇后杜村:321025
图片尺寸640x320
赛琪saiqi秋季男款超轻耐磨缓震提升跑步鞋 321025 莹光绿 43
图片尺寸740x1268
赛琪saiqi夏季男款超轻耐磨缓震提升跑步鞋 321025 绿色50 39
图片尺寸800x800
321025是哪里的身份证
图片尺寸550x338![查看516 | 回复 0[机制币] 鉴定 321025 五厘中孔( zbqlovely)](https://imgs.wantubizhi.com/img/A1A61BAA66193547F3A6DD7D8EE527E984AD94C6FCAB52C77E19610245C66EBBC35593B52BC1ED2F8D97996FE83C2360DD5E42F0ABD8F8D64895EF154584C7C1F0ACE45A4A365A98D0B1EE58511C55114288DFE0B38DCE840F76ACCF4FB4BCD5)
查看516 | 回复 0[机制币] 鉴定 321025 五厘中孔( zbqlovely)
图片尺寸626x580
感恩节艺术字体素材模板下载-编号321025-众图网
图片尺寸1024x1542
32121_百度视频搜索
图片尺寸352x234
spilu 321025 headlight
图片尺寸571x400
天立威头孢克肟咀嚼片50mg6片
图片尺寸500x500
广告
图片尺寸1181x872
知识匠
图片尺寸480x641
号 邮编:321025莱恩(中国)动力科技有限公司成立于二〇〇四年九月六日
图片尺寸1229x1677
2015休闲宽松套装 立领插肩袖女式衬衫 下搭纯色阔腿裤321025 六月在
图片尺寸750x1125
过滤器(智能)
图片尺寸1130x1430![查看516 | 回复 0[机制币] 鉴定 321025 五厘中孔( zbqlovely)](https://imgs.wantubizhi.com/img/A1A61BAA66193547F3A6DD7D8EE527E9B7FEC632DA935FD65FC5FB5223CC9DFA57026E15A71DB3189B7177E3EE6299FBD6CE87FF9E5BE154EE50072EF13920745DCB2516CC1A0E60267CF89EA83C7390F1D9FBCDA888E029BEB801E20F2CE8D2)
查看516 | 回复 0[机制币] 鉴定 321025 五厘中孔( zbqlovely)
图片尺寸598x560
人间仙境-美国威尔斯利女子学院 - jiangshan321025 - jiangshan
图片尺寸533x800
等厨房及生活电器产品 地 址: 浙江省金华市金沙街788号 321025
图片尺寸390x260
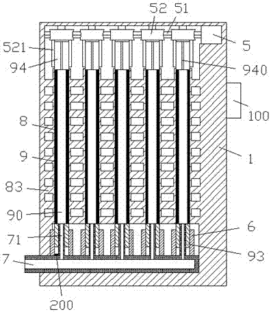
专利详情
图片尺寸396x455