691线路图

公交691路的线路图
图片尺寸550x540
adm691
图片尺寸900x847
北京人就是矫情
图片尺寸400x302
adm691a
图片尺寸900x856
691,719
图片尺寸950x712
691路公交车线路图
图片尺寸434x600
重庆691路跨线上行公交线路
图片尺寸300x300
重庆691路上行公交线路
图片尺寸300x300
苏州怎么从622路换乘691路
图片尺寸655x521
maxim max691a系列ic,允许低电池检测.
图片尺寸734x546
05691路双向增设"西局""广外关厢"站.
图片尺寸525x750
丰台多趟公交线路将新增站点太方便了
图片尺寸650x602
max691a
图片尺寸410x468
公交线路:691路 → k1路,全程约40.
图片尺寸450x319
公开号 us4546343 a 发布类型 授权 专利申请号 us 06/627,691 公开
图片尺寸2320x3408
专利ep0205691a1 - vorrichtung zur warenverteilung - google 专利
图片尺寸1900x2734
967_691gif 动态图 动图
图片尺寸967x691
maxim max691a系列ic,允许低电池检测.
图片尺寸734x546
展开全部 k691/k69409:38 - 第三日06:35 中转站: 昆明站 k9832/k
图片尺寸545x515
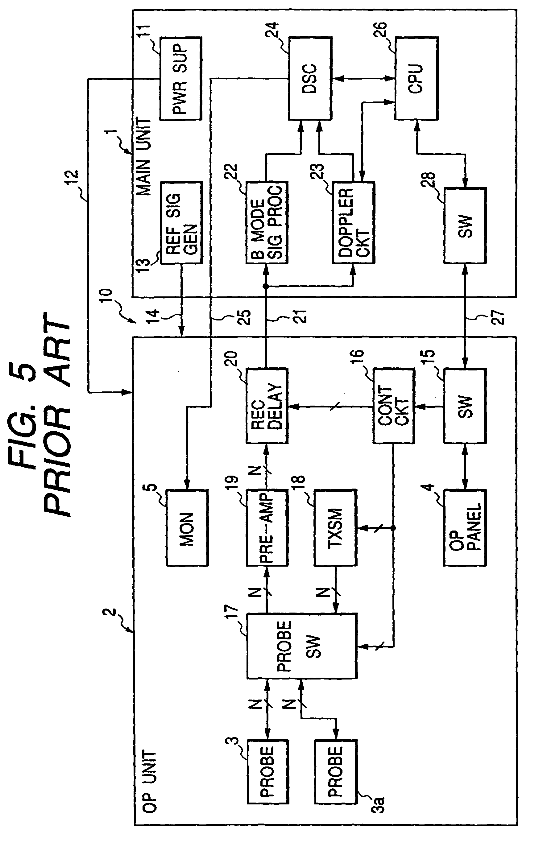
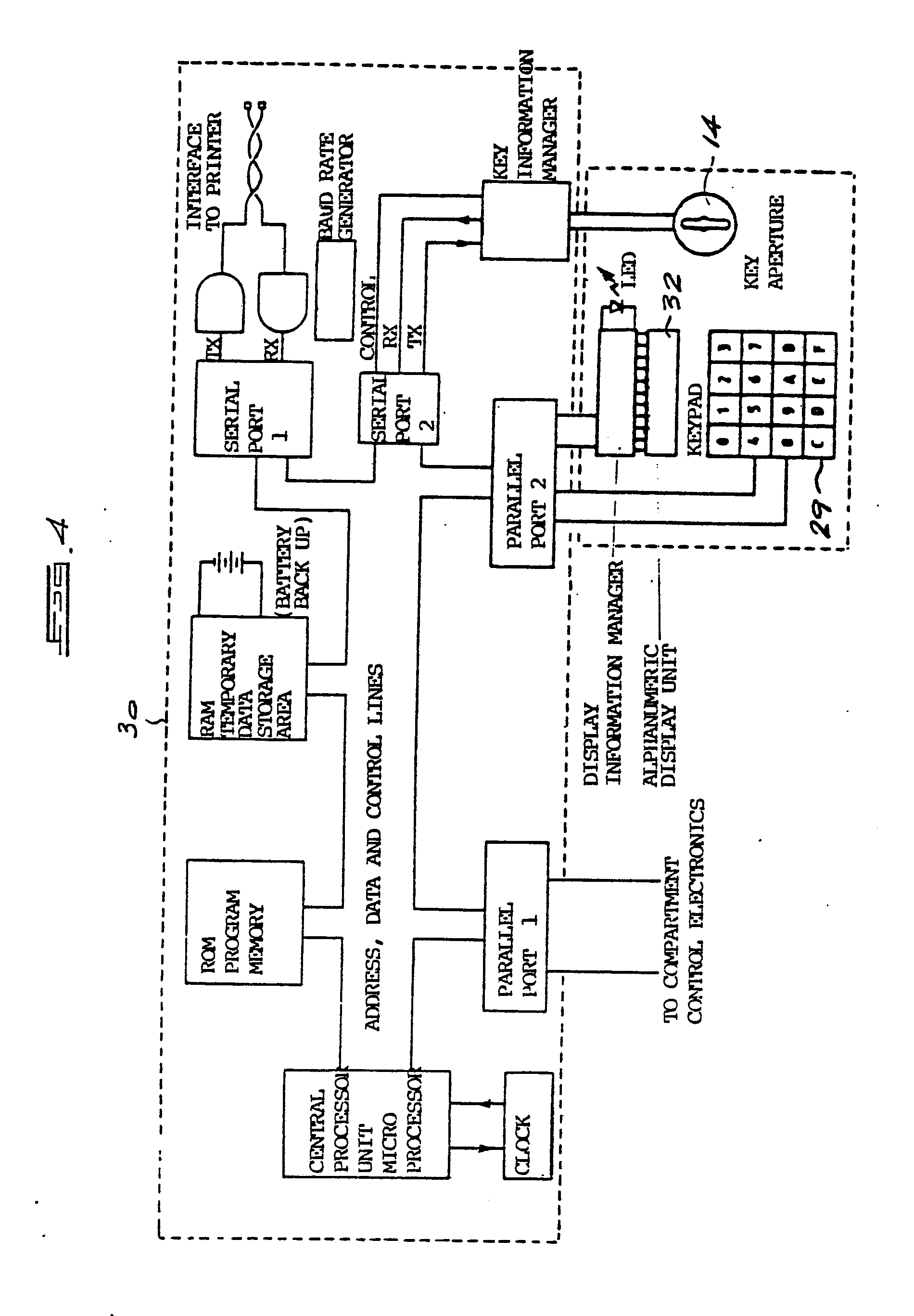
专利ep1080691a1 - an ultrasonic diagnosis apparatus - google
图片尺寸1760x2772