781541

分享 收藏(已有2975人收藏) 货号: 5lux1112490g_p3781541
图片尺寸1571x2000
mofan摩凡 格纹不对称休闲半裙883175/781541
图片尺寸286x300
tommy hilfiger 潮流玩色时尚腕表-银x白/40mm
图片尺寸400x400
沙发背景墙_781541
图片尺寸658x540
特卖价149凯幕狮凯慕狮貉子毛领连帽羊羔绒帽里女士
图片尺寸520x520
特卖价149凯幕狮凯慕狮貉子毛领连帽羊羔绒帽里女士
图片尺寸730x730
18年瑁恩瑁爱 新航传说男春款单件上衣(毛圈 精棉布里)m781541 66-90
图片尺寸750x750
阳光自然风光风景自媒体实拍素材模板下载-编号781541-众图网
图片尺寸1024x1820
盛开图片大全
图片尺寸600x397
尚静圆领五分袖印花t恤 系带小脚九分裤清新套装jr1781541_唯品会
图片尺寸750x1099
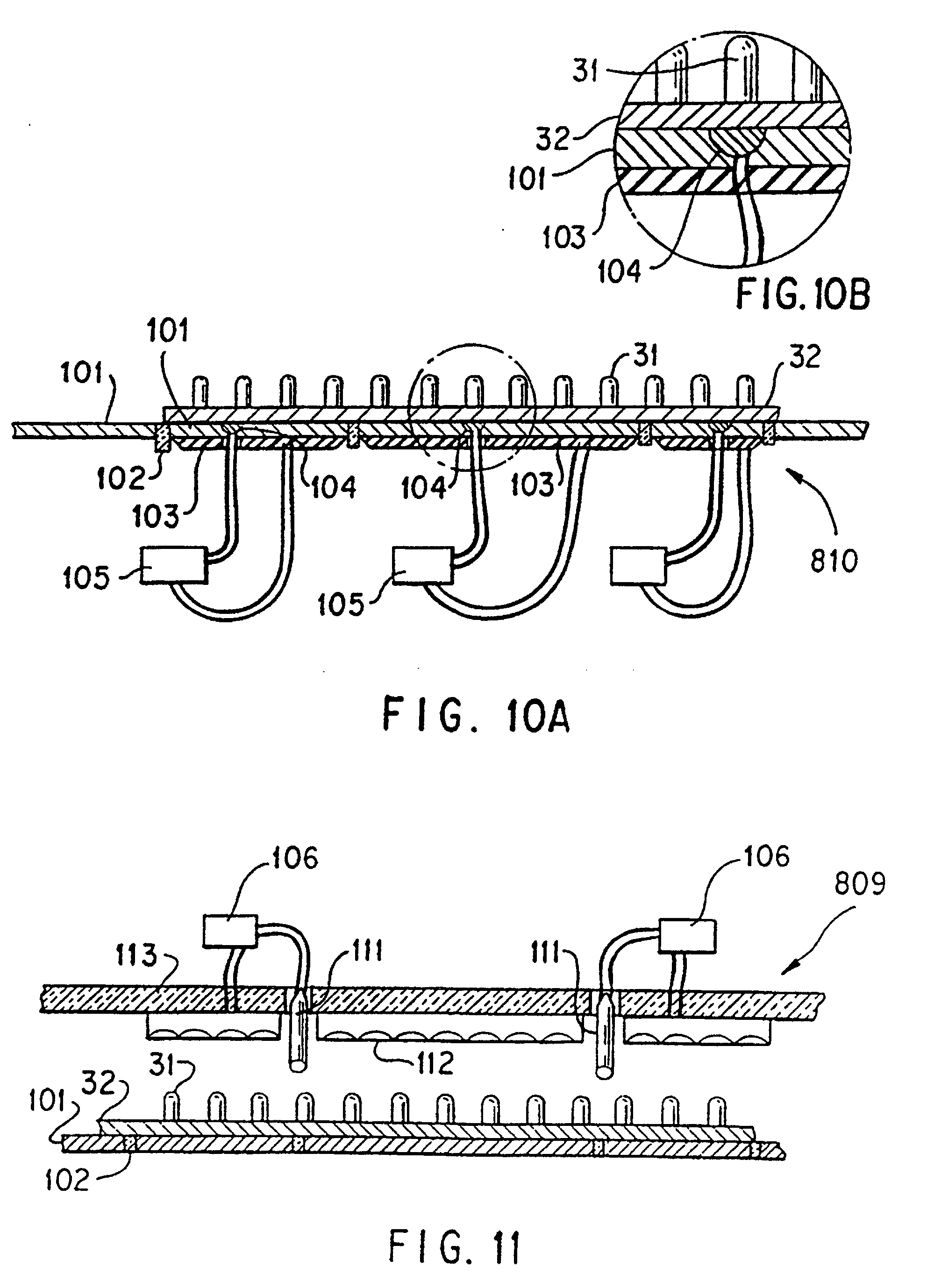
专利ep0781541a2 - method and apparatus for manu
图片尺寸1856x1352
67676767100万 2556600927815412月14日 13:14来自荣
图片尺寸360x487
艾越呀(o91781541)
图片尺寸1440x1920
sinaimg.cn/large/article/3d2ceeb7815413e1b5cfef1506c79807
图片尺寸1024x683
专利ep0781541b1 - method and apparatus for manufacturing
图片尺寸1984x2757
专利ep0781541b1 - method and apparatus for manufacturing
图片尺寸2064x2815
5fdb60fe554444c8807815415eb133f
图片尺寸1600x901
格局图
图片尺寸480x360
专利ep0781541a2 - method and apparatus for manu
图片尺寸1856x2248
hkd $5781541* myr rm3100000 maison 4 6 4,628.
图片尺寸668x501