952588

水滴保 为什么会频繁打电话 水滴保为什么会频繁打电
图片尺寸960x1280
95558是什么电话
图片尺寸454x235
952开头电话频繁骚扰怎么办?三个方法教你解决
图片尺寸239x471
有人会要吗
图片尺寸1080x809
952开头电话频繁骚扰怎么办?三个方法教你解决
图片尺寸640x281
怎么举报骚扰电话?工信部回应
图片尺寸512x287
952568是什么号码
图片尺寸611x499
叶明提交的原片#952588
图片尺寸1200x800
1元保投诉上万条涉及悟空保水滴保等平台
图片尺寸523x414
裙子怕走光,裤子不性感,热裤穿起来
图片尺寸1230x1230
水滴筹952588是不是真的?筹款可信度高吗?咋发起呢?
图片尺寸640x626
水滴筹952588是不是真的?筹款可信度高吗?咋发起呢?
图片尺寸960x600
水滴筹952588是不是真的?筹款可信度高吗?咋发起呢?
图片尺寸640x427
old navy正品代购 率性多色可选舒适中腰棉质休闲短裤|女装952588
图片尺寸790x700
沃巴马的图集952588
图片尺寸420x379
商品编号:k299952588 此商品来源于日本雅虎网站
图片尺寸900x1200
319495_506183792728970_1394863195_n - 女 - 相薄 - aa0952588tw
图片尺寸960x960
314710_392636700797576_1874892540_n - 女 - 相薄 - aa0952588tw
图片尺寸640x576
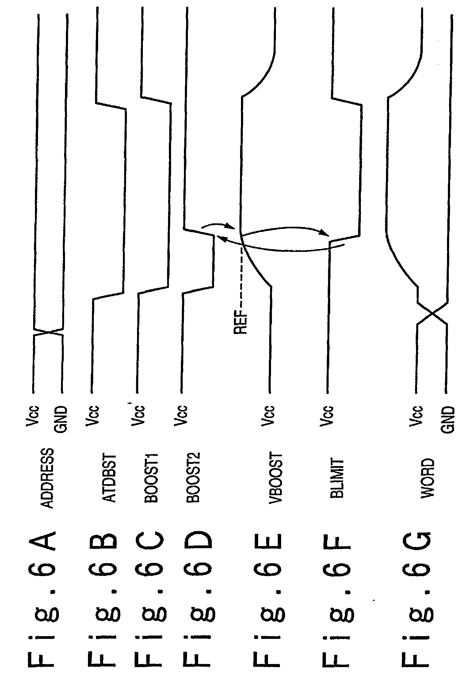
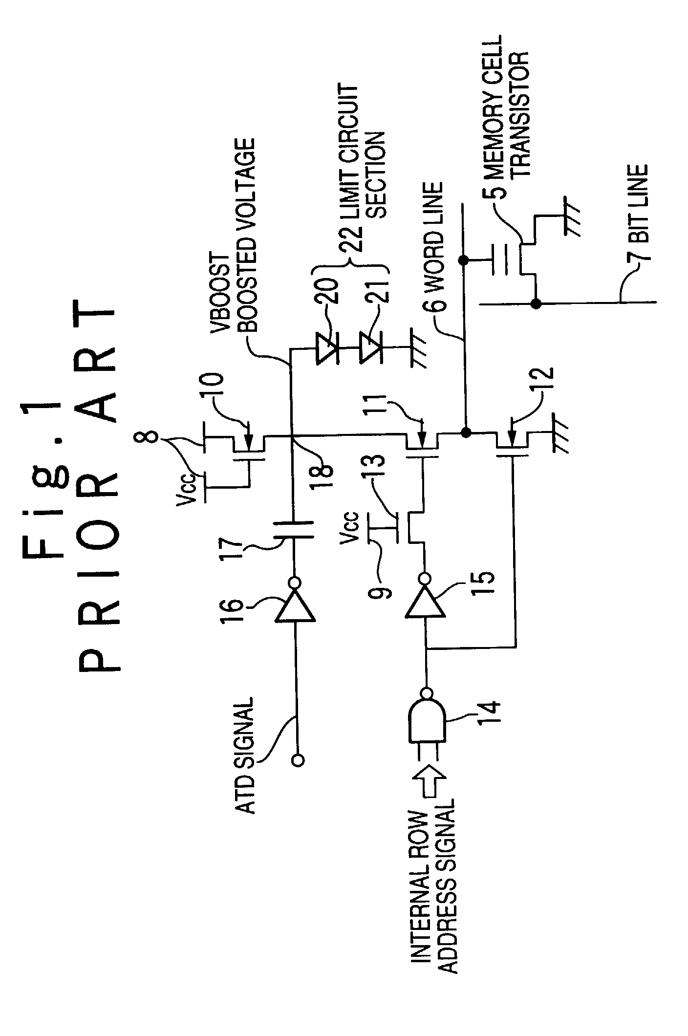
专利ep0952588a2 - circuit élévateur de tension limitant la
图片尺寸1408x2120
专利ep0952588b1 - boosting circuit with boosted voltage limited
图片尺寸1520x2242