AR简笔画

矢量铅画ar
图片尺寸610x610
ar
图片尺寸619x317
ar眼镜概念笔画符号设计.
图片尺寸300x300
简笔画 手绘 线稿 700_398
图片尺寸700x398
ar演示概念图标
图片尺寸1100x1100
ar眼镜图标
图片尺寸512x512
2022年了ar眼镜值得买了吗
图片尺寸520x293
肌电手环或成新一代人机交互接口 vr/ar交互工具形态目前依然延用主机
图片尺寸800x450
ar眼镜
图片尺寸1153x909
苹果vrar设备有望2022年亮相为何视fb为最大劲敌
图片尺寸899x1000
ar眼镜简笔画 (第2页)
图片尺寸400x504
苹果ar 眼镜可将任何表面变成交互式触控屏幕
图片尺寸1000x750
简笔画
图片尺寸2079x2940
ar眼镜图标矢量符号和符号孤立在白色背景上,ar眼镜标志的概念
图片尺寸1100x1100
剑指苹果meta公布高端arvr头显未来配件相关专利
图片尺寸660x386
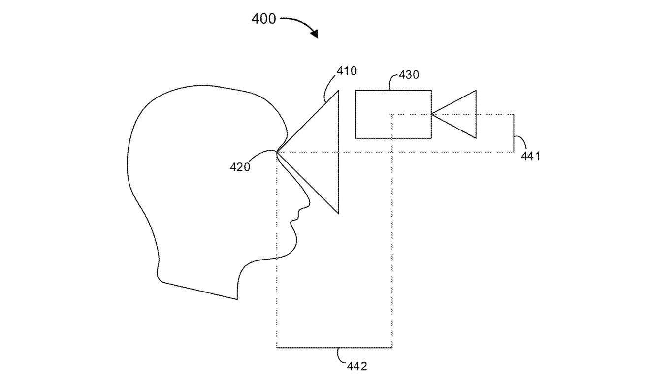
苹果为解决arvr眼镜使用中可能出现的问题申请两项新专利
图片尺寸1312x792
全息vrar行业发展动态周报2024年第14周4月1日4月7日
图片尺寸702x559
webarinaction
图片尺寸700x781
ar涂涂乐培养简笔画图片
图片尺寸2079x2940
苹果 ar 眼镜会是什么样的?
图片尺寸1000x525