CT原理图

multi-slice x-ray ct device
图片尺寸1940x2970
ct成像原理1ppt
图片尺寸1080x810
16层螺旋ct的临床应用ppt课件
图片尺寸1080x810
1 第4代3代ct原理2 ct诊断术语2.
图片尺寸844x499
ct成像原理
图片尺寸1280x960
陈谦主任科普之ct检查
图片尺寸516x560
ct成像原理
图片尺寸381x316
胸部ct读片指导 ct原理示意图
图片尺寸1080x810
ct成像原理ppt课件医学影像
图片尺寸860x645
ct成像原理-3ppt
图片尺寸1080x810
第一节ct机基本结构和工作原理当前章节内容组合
图片尺寸711x448
请收藏最全ct成像原理解读
图片尺寸623x468
ct检查的临床应用ppt
图片尺寸1080x810
蔡司ct之旅即将启程和我们一起来破解业界测量难题吧
图片尺寸552x332
医用放射线设备概论 第三节 x线ct设备 ct(computed tomography)
图片尺寸1024x768
ct成像原理ppt课件
图片尺寸920x690
dispositif ct à rayons x
图片尺寸1606x2752
cn101816568b_x射线ct装置有效
图片尺寸2922x1957
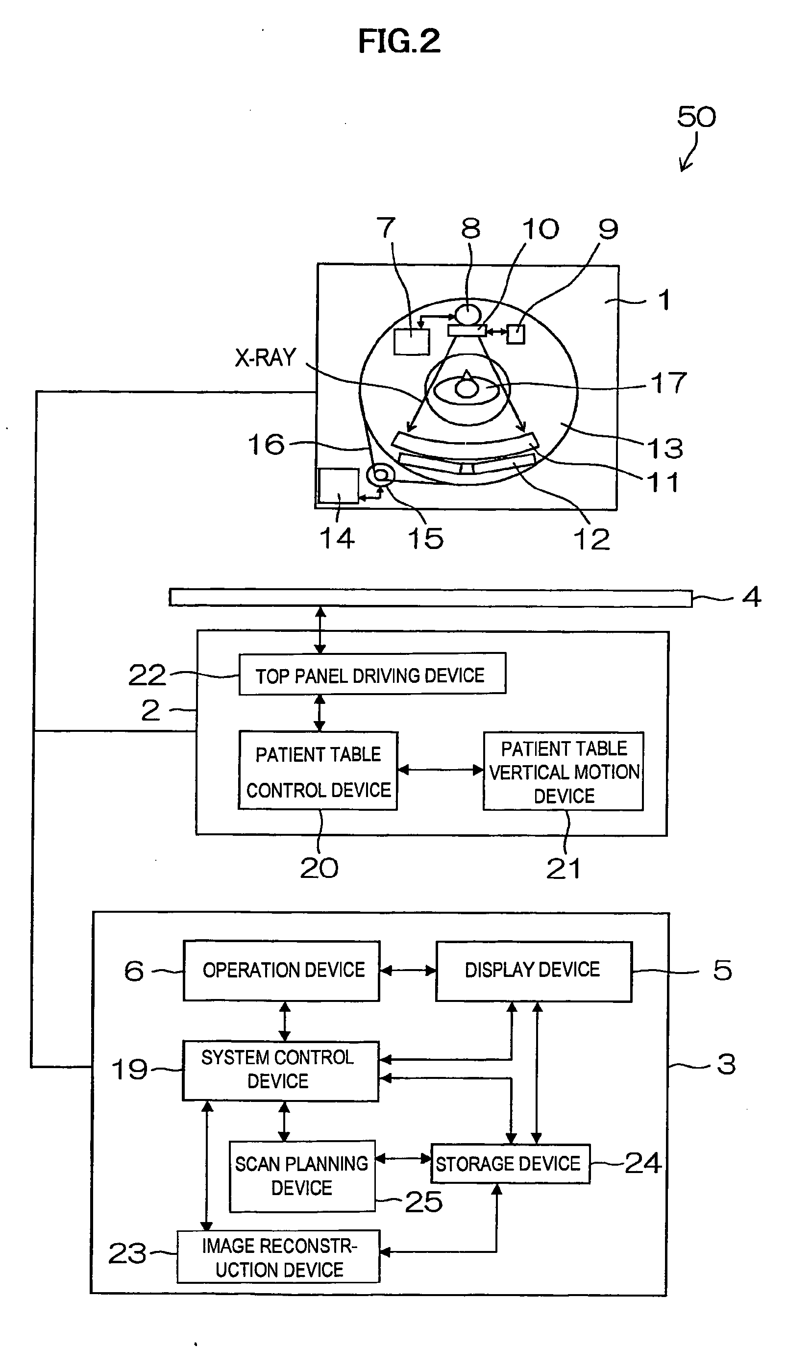
cn103284745a_x射线ct装置及其控制方法失效
图片尺寸1000x846
x射线纳米ct成像原理以及在生命和材料科学中的应用朱佩平pdf53页
图片尺寸792x560