LED面板灯结构

led面板灯及其制造方法
图片尺寸1625x2166
侧发光平板灯的制作方法
图片尺寸432x443
净化灯led平板净化灯300*1200无尘车间洁净灯 医院手术室应急电源
图片尺寸750x485
深圳led面板灯厂家:探究led面板灯结构-搜狐大视野-搜狐新闻
图片尺寸750x517
led灯珠的构成,应用范围……… - 抖音
图片尺寸631x361
led集成吊顶厨卫灯具平板灯高亮超薄窄边 300x300
图片尺寸930x583
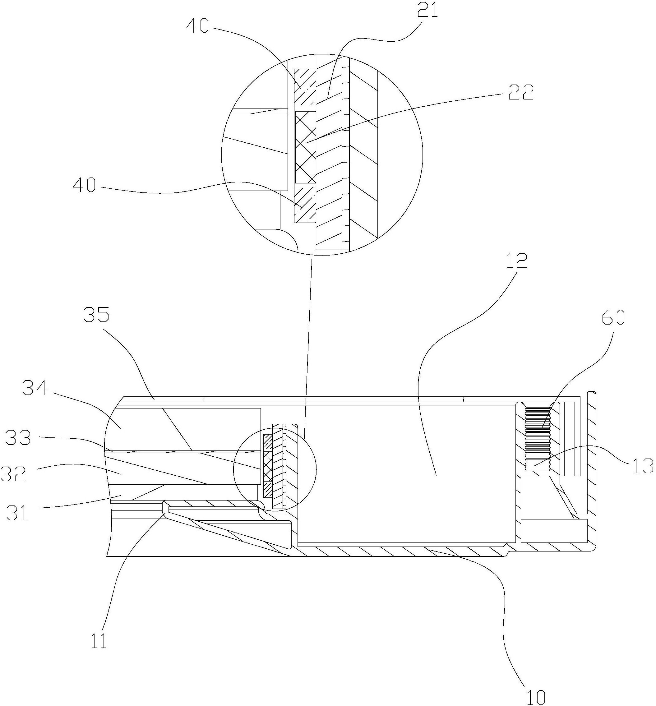
一种防水面板灯-爱企查
图片尺寸1900x967
led面板灯的内部结构图解
图片尺寸526x343
关于汽车led灯你不可不了解的知识!
图片尺寸620x515
供应600*1200超亮高端led面板灯
图片尺寸793x581
禾喵喵led嵌入式面板灯暗装无边框天花灯18w24w家用亮化厨卫灯平板灯
图片尺寸790x1074
led面板灯培训资料led侧发光平板灯原理结构 及材料组成 - 知乎
图片尺寸390x315
led直发光面板灯,包括灯体和控制系统,灯体包括带有微结构柔性自锁器a
图片尺寸1000x924
厂家直销无边框面板灯直下式面板灯led新款面板灯3w超薄面板灯
图片尺寸750x1098
直发光面板灯产品结构直发光面板灯产品结构led灯珠的光从发光面进入
图片尺寸1009x669
深圳通达光电子厂家供应625*625mm 40wled面板灯
图片尺寸756x1020
一种led面板灯-爱企查
图片尺寸2110x2271
2013/8/30 9:50:23结构: led面板灯由外框(高效散热的铝型材),导光板
图片尺寸500x375
led面板灯及其制造方法
图片尺寸544x578
led面板灯的分类,优缺点及发展趋势分析
图片尺寸600x469