PDC钻头结构

低扭矩pdc钻头的制作方法
图片尺寸706x1000
一种硬地层混合齿pdc钻头
图片尺寸1779x2253
一种高效抽吸引流式反循环pdc钻头
图片尺寸1611x2195
微心pdc钻头设计及现场试验
图片尺寸700x414
锐石pdc钻头8寸半16mm主齿三刀翼.#钻头#pdc钻头 - 抖音
图片尺寸2481x4410
一种定向喷射冷却pdc钻头
图片尺寸1438x1982
一种三牙轮pdc同心钻头的制作方法
图片尺寸892x1000
pdc钻头的结构及破岩机理
图片尺寸472x275
一种带锥齿的新型五刀翼pdc钻头-爱企查
图片尺寸406x623
整个钻头无活动部件,主要有钻头体,胎体,水力结构(包括水眼或喷嘴
图片尺寸783x783
一种具有pdc组合齿的单牙轮钻头
图片尺寸876x1540
摘要附图摘要本申请实施例提供了一种易卡井段可解式pdc钻头,属于结构
图片尺寸562x800
摘要附图摘要本实用新型属于石油钻探用双心pdc钻头的结构改进.
图片尺寸2112x1760
复合冲击滚动自调式pdc钻头制造技术
图片尺寸931x1000
机械/仪表 钻头ppt 二,牙轮钻头(roller bit) (一)牙轮钻头结构 (1)
图片尺寸1080x810
一种高效抽吸引流式反循环pdc钻头的制作方法
图片尺寸733x1000
一种变保径pdc钻头
图片尺寸897x1312
一种减缓破岩冲击力的全向变角pdc钻头的制作方法
图片尺寸679x931
牙轮钻头结构分解图金属密封钻头
图片尺寸1949x1423
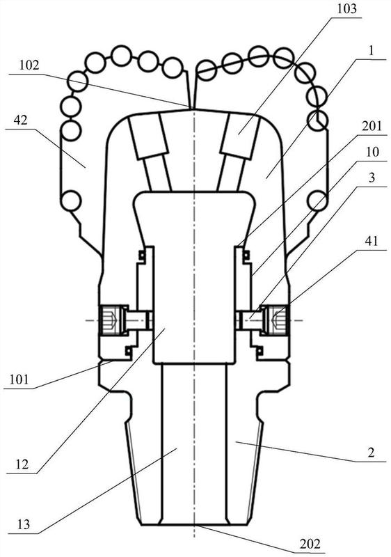
pdc取心钻头的制作方法
图片尺寸892x1000