TA3721原理图

ltc3721-1反激式,正激式和隔离式控制器参数介绍及中文pdf下载
图片尺寸1937x1015
ltc3721euf-1#tr (linear) pdf资料下载 datasheet(16/16 页)
图片尺寸802x1038
ltc37212参数datasheetpdf下载
图片尺寸850x1100
常见低通滤波器电路图设计效果图
图片尺寸400x450
请高手帮我绘出图纸!
图片尺寸1043x474
本帖最后由 xinge3721 于 2014-10-5 09:46 编辑
图片尺寸1083x496
ta3721s驱动电路图
图片尺寸500x518
156916486 采纳数:3721获赞数:8370lv15 擅长:暂未定制 向ta提问诵排
图片尺寸584x1040
求解释声控延时电路的运作流程? - 3721研发网
图片尺寸819x508
分析图中二级管在电路图中的作用
图片尺寸1052x631
1_专利信息查询-天眼查
图片尺寸1681x755
面向 poe 应用之 130w 隔离型推挽式转换器的原理图
图片尺寸1140x859
sanyo 1100w吸尘器的电动机驱动电路
图片尺寸786x498
211电子管推挽放大器有多少w
图片尺寸700x500
高亮度led恒流驱动电路设计
图片尺寸538x261
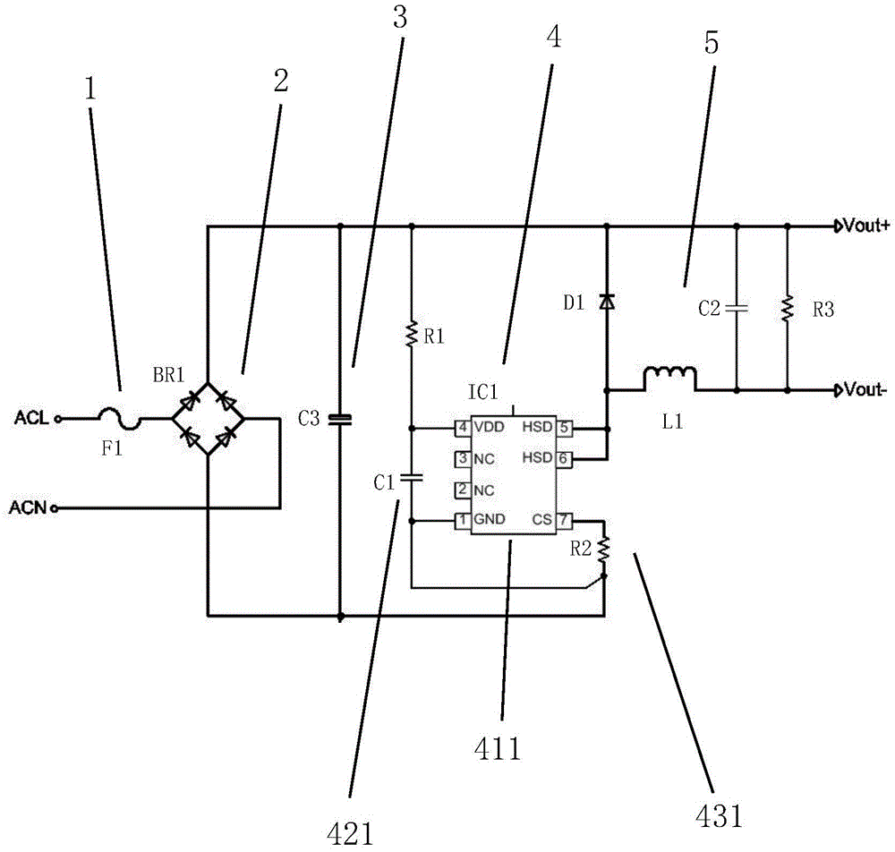
一种led灯驱动电源和一种led灯
图片尺寸1000x952
led灯驱动电源电路图
图片尺寸534x298
帮我分析下这个电路:如图
图片尺寸955x346
cn203196964u_药厂用移动罐清洗机失效
图片尺寸1000x818
振华zh200035m控怎么自制模拟线接口
图片尺寸726x448