TDMA

tdma
图片尺寸602x338
堪比春秋五霸战国七雄的5g通信发展史
图片尺寸490x359
精选优质答案:这里有4大多址技术,是通信业的基础,分别为tdma,fdma
图片尺寸1410x519
无线知识充电站图解多址技术
图片尺寸326x234
面向工业无线网络的动态tdma系统设计与实现.
图片尺寸3150x1764
时分方式tdma:在同一频带内不同用户使用不同时隙.
图片尺寸434x396
工作知识记录—tdma和物理层协议
图片尺寸922x585
【预售 按需印刷】tdma scheduling of multimedia traffic in
图片尺寸907x1360
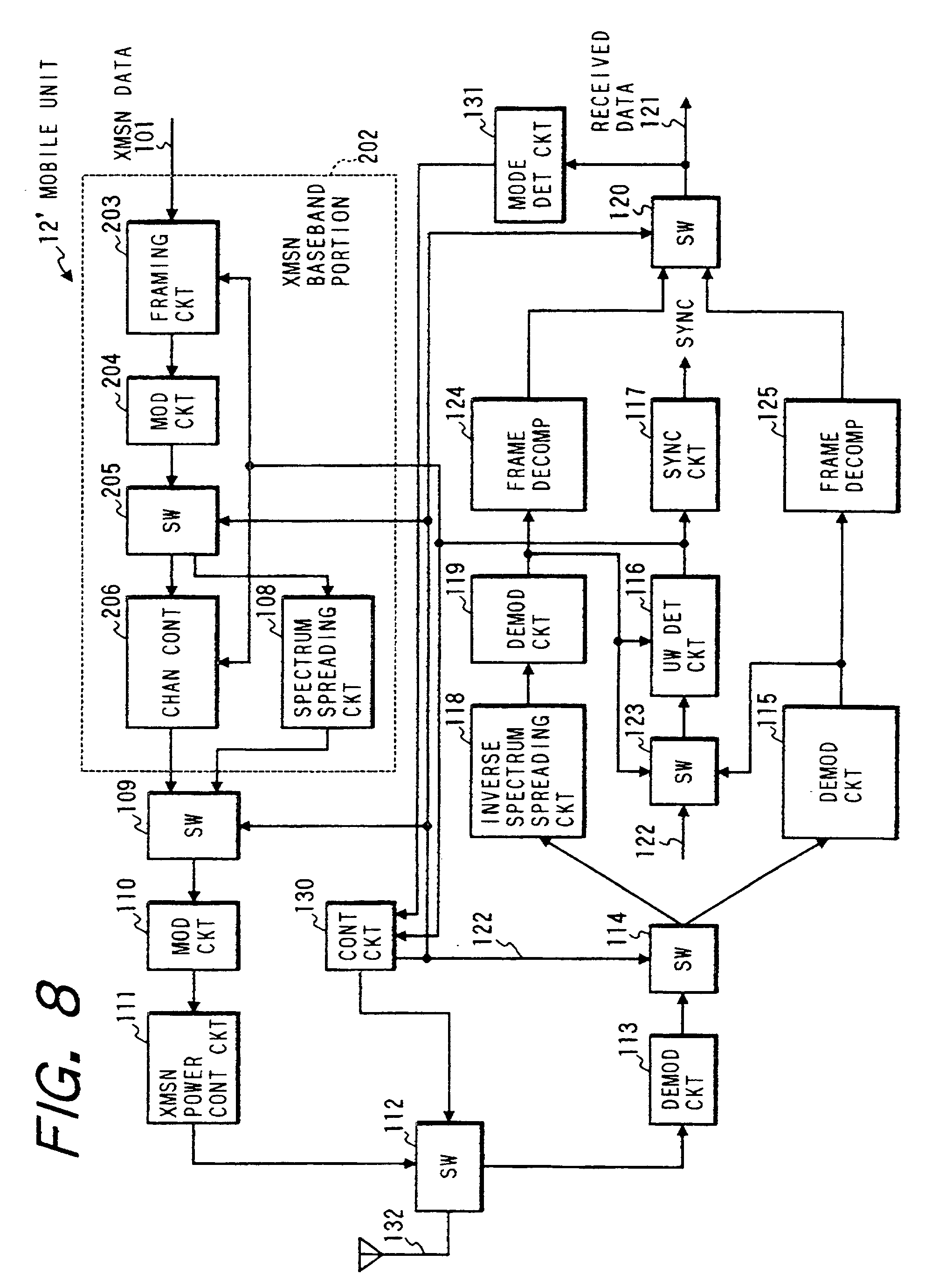
tdma-cdma mobile communication system
图片尺寸1984x2763
kaikai 多址接入技术 fdma tdma 功率 功率 cdma code 1 code 2 功率
图片尺寸1080x810
北邮 电信系统 期末 死记硬背
图片尺寸789x217
time power fdma frequency power time page 2 frequency cdma tdma
图片尺寸1080x810
gsm数字移动通信专题之----------- 时分多址(tdma)帧结构
图片尺寸503x349
面向工业无线网络的动态tdma系统设计与实现.
图片尺寸1575x591
电路交换网络中的多路复用: fdma和tdma
图片尺寸819x575
图32:fdma,tdma,cdma
图片尺寸577x230
fdma,tdma,cdma,ofdma,新型多址技术
图片尺寸674x348
基于定向多波束天线的tdma帧结构的时隙预约方法
图片尺寸1494x977
一样,都是"无名小辈",彼时称霸全球通信圈的是tdma(后来演变为gsm)
图片尺寸800x450
2 fit tdma wifi 愿景
图片尺寸489x422