U型槽结构

用于地铁施工的u型槽段防水结构的制作方法
图片尺寸977x713
钢模具 ,水泥u型槽模具,设计结构及说明
图片尺寸400x400
一种与路基连接的u型槽的制作方法
图片尺寸1000x808
u型槽构造图
图片尺寸560x420
阅读-gb/t4697-2008:矿山巷道支护用热轧u型钢
图片尺寸1439x2048
预制u型槽施工图
图片尺寸423x381
该u型槽道在结构上由u型可连接活动转接件的连接座和底部l型强固筋
图片尺寸1055x960
u型槽渠道的砼方量怎么算
图片尺寸3264x2448
玻璃钢灌溉u形槽制造技术
图片尺寸1000x698
单元一 了解工程图样以及制图规范 图1-1重力式u型桥台如图
图片尺寸1080x810
中创深圳树脂线性排水沟不锈钢盖板u型铸铁双层成品缝隙式排水槽
图片尺寸750x1072
u型槽结构配筋详图
图片尺寸610x432
u型薄壳渡槽薄壳槽身计算方法与槽身跨度l与槽身宽度d的比值有关.
图片尺寸451x395
某处的灌区小型u型渡槽结构设计图纸
图片尺寸610x432
u型槽布置图
图片尺寸327x259
u型渡槽设计书
图片尺寸1200x1697
cn201704623u_多功能拱形组合凹槽型钢有效
图片尺寸800x816
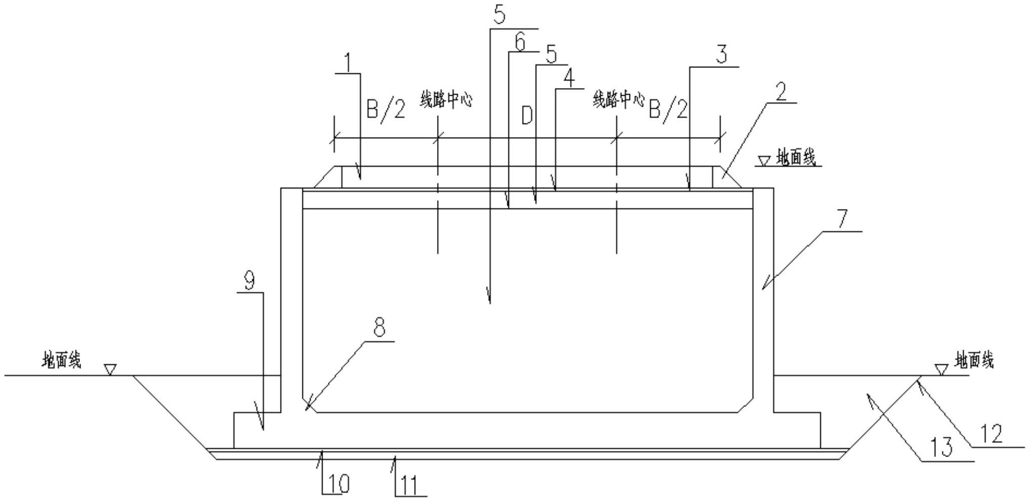
一种高速铁路轻质土路堤u型槽支护结构-爱企查
图片尺寸2034x992
2 术语 - 沟槽式连接管道工程技术规程 t/cecs151-2019 - 消防规范
图片尺寸1645x1504
排水板复合树脂成品农林用排水沟u型槽厨房排水槽沟下水道沟槽盖板
图片尺寸790x1011