a6gf1阀体电磁阀资料图

厂家批发-196度液氮不锈钢低温高压电磁阀 常闭电磁阀控制阀220v
图片尺寸800x732
电磁阀总装 - 阀体图纸 - 沐风网
图片尺寸575x815
电磁阀工作原理
图片尺寸660x571
电磁阀内部结构图
图片尺寸610x614
全不锈钢电磁阀结构图
图片尺寸400x396
电磁阀结构图
图片尺寸518x435
常用电磁阀的工作原理
图片尺寸640x625
电磁阀.液压阀 换向阀.高压电磁阀.液压电磁阀.34bi3-h10b-t 阀
图片尺寸1597x1590
于大众帕萨特b5高尔夫4捷达宝来01m/n自动变速箱阀体电磁阀0人付款80
图片尺寸300x300
电磁阀的主要特点
图片尺寸602x363
2阀体维修图2 圈 5电磁阀位 汽维技师.00第期 i 1车修 21年
图片尺寸1459x1999
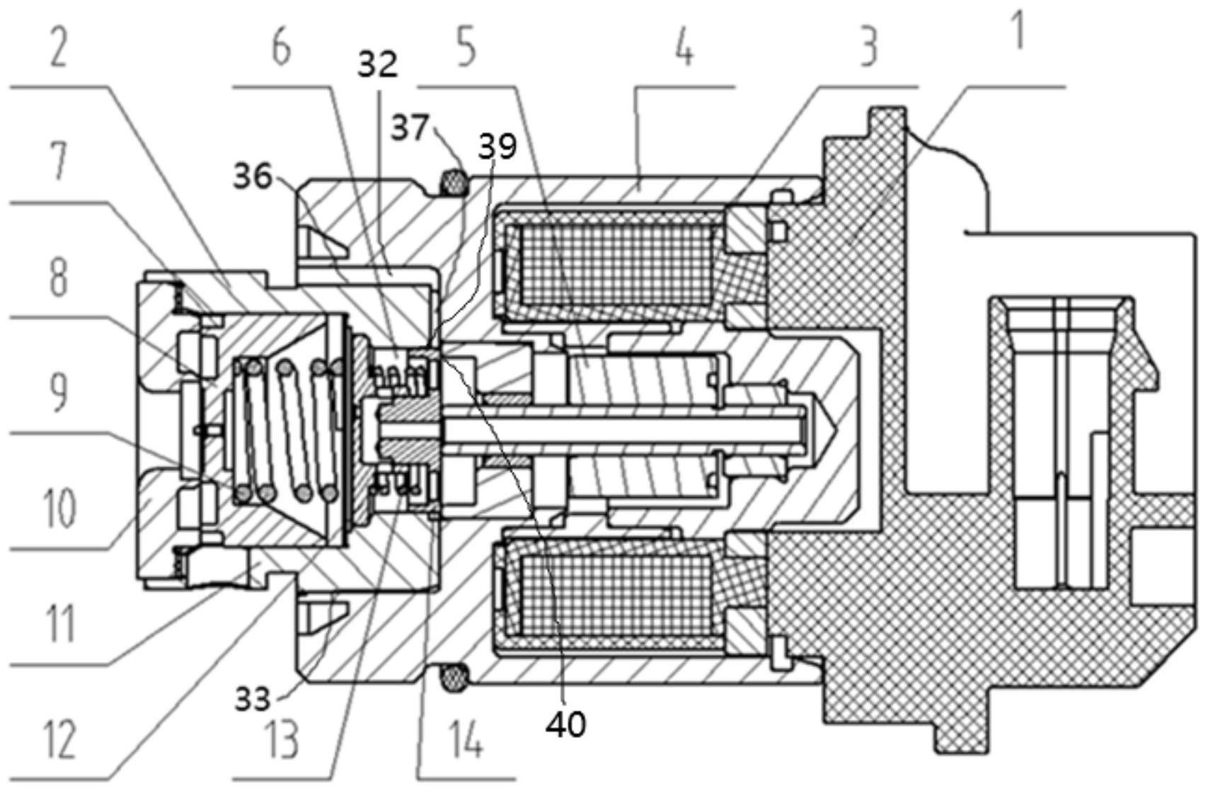
其包括电磁驱动分总成和阀体分总成;电磁驱动分总成包括外壳分总成
图片尺寸1707x1117
斯柯达晶锐5-n92电磁阀是哪一个,在什么位置
图片尺寸848x859
丹佛斯电磁阀工作原理,丹佛斯电磁阀阀体分解图
图片尺寸1338x725
smc电磁阀ir系列
图片尺寸371x270
电磁阀结构图
图片尺寸470x389
电磁阀结构图
图片尺寸485x411
zczp大通径先导活塞式电磁阀
图片尺寸640x348
控制k3 的n90电磁阀容易失效,而在阀体的油路板上,国外的维修
图片尺寸670x557
原理:它是由一个电磁小阀和主阀体组成,通电时,电磁力把先导小阀的孔
图片尺寸600x350