accumulator

buccma accumulator (tianjin) co.,ltd
图片尺寸1000x715
flywheel accumulator in the porsche 918 rsr
图片尺寸1800x1200
electronicsweftaccumulator
图片尺寸500x325
关于飞机的那些你知道的和不知道的事
图片尺寸1080x2160
accumulators2
图片尺寸1014x653
vapor accumulator byworth boilers
图片尺寸1047x771
084【county evo 110v accumulator 】
图片尺寸640x640
accumulator control board lithium battery control module ele
图片尺寸1001x1001
a320系列飞机蓝液压系统工作原理及案例分析ppt
图片尺寸1080x810
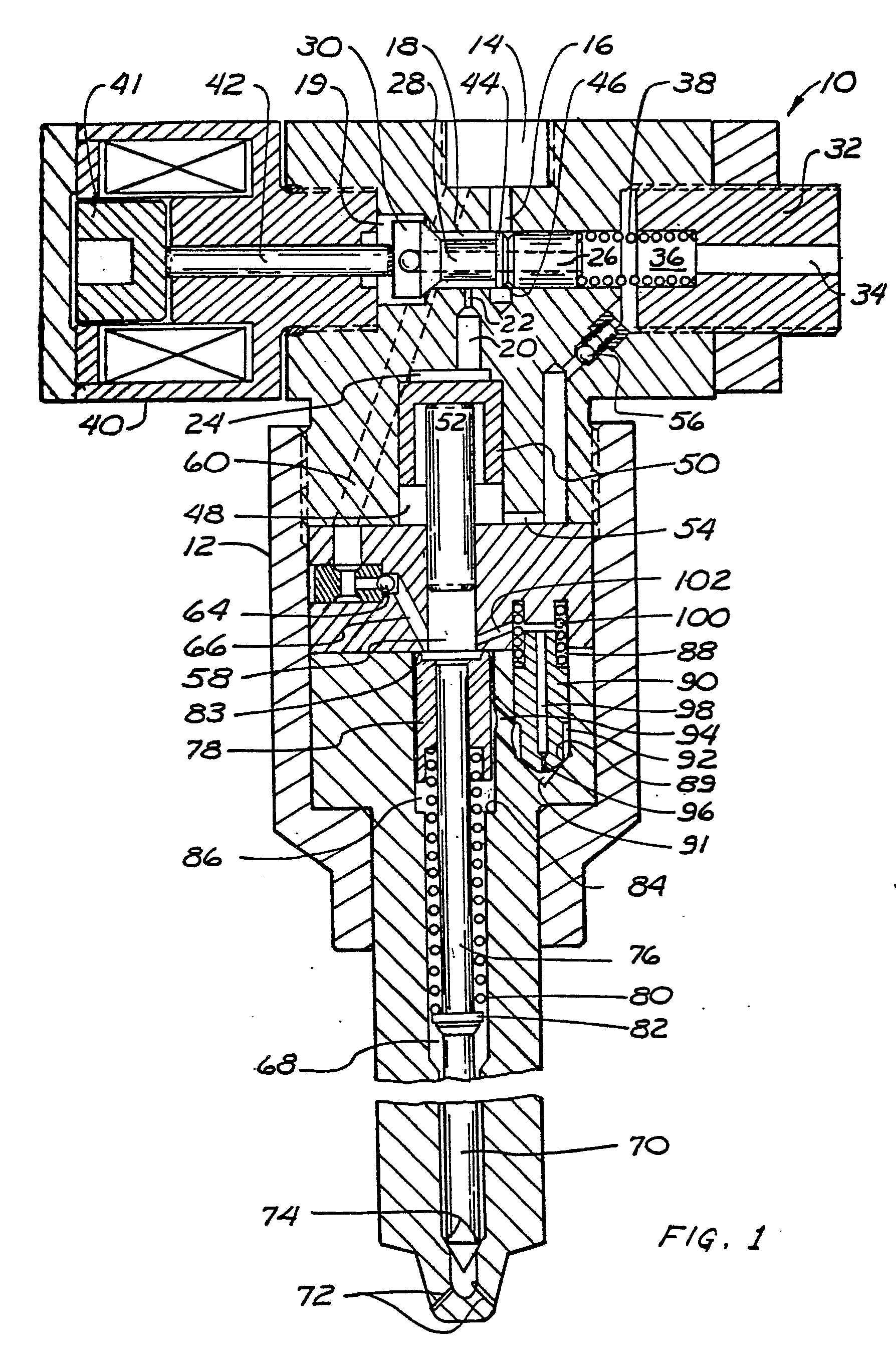
accumulator injector
图片尺寸1788x2703
级联register file:寄存器文件fracturable:可分割adder/accumulator
图片尺寸1664x936
dc 12v power-on counter module accumulator 3-bit red 0.36in
图片尺寸800x800
hma510jc-45【multiplier accumulator/summer】
图片尺寸800x800
dc 12v trigger counter module accumulator 3-bit red 0.36 inc
图片尺寸1000x1000
当充电价格跟加油一样时你还会买电动车吗
图片尺寸1080x749
valve body accumulator for adi vw seat skoda 7sp automatic t
图片尺寸1001x1001
valve body accumulator for audi vw seat skoda 7sp automatic
图片尺寸800x800
accumulator charger,battery charger,cell phone charger
图片尺寸800x800
电液伺服技术服务
图片尺寸640x398
vapor accumulator av series 蒸汽蓄能器
图片尺寸1280x904