acoustic impedance

每日一词-名词(acoustic impedance 声阻抗)
图片尺寸640x960
acoustic impedance sensor designed to measure the input acoustic
图片尺寸743x390
【042 】声阻抗acoustic impedance - 知乎
图片尺寸1145x805
acoustic impedance matched concrete finishing
图片尺寸1659x1157
multilayer acoustic impedance converter for ultrasonic
图片尺寸2090x1570
acoustic impedance section
图片尺寸530x800
acoustic impedance
图片尺寸800x364
method and apparatus for characterizing an acoustic impedance
图片尺寸3438x2130
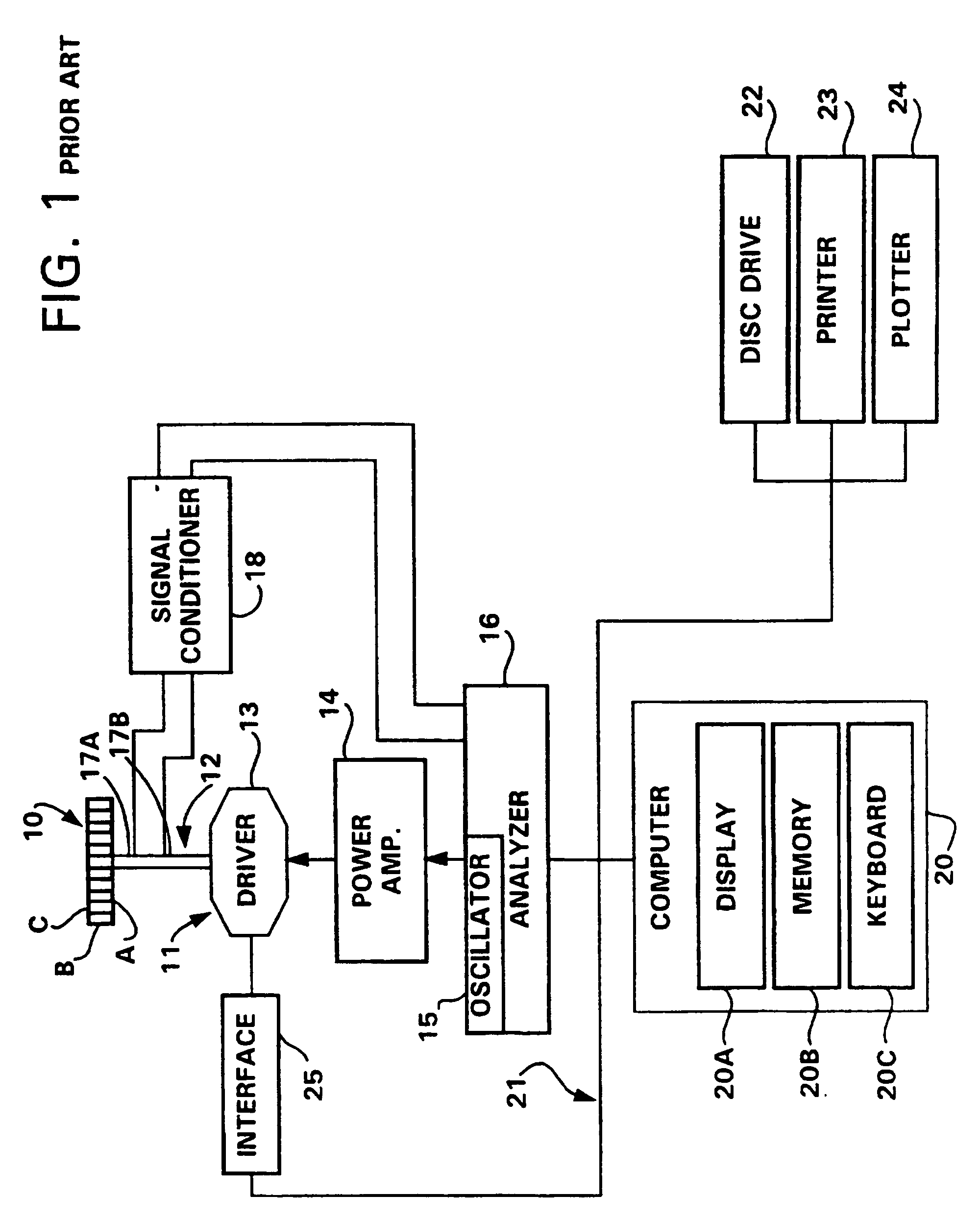
portable acoustic impedance data acquisition and analysis system
图片尺寸2000x2490
分享——烃:物理性能及其应用(英文版)
图片尺寸283x400
manipulating acoustic wavefront by inhomogeneous impedance and
图片尺寸730x248
acoustic impedance-matched fuel nozzle device and tunable fuel
图片尺寸1781x2205
acoustic impedance
图片尺寸640x640
acoustic impedance matched concrete finishing
图片尺寸1570x1475
acoustic impedance
图片尺寸640x640
transducers with acoustic impedance matching for passive cardio
图片尺寸1137x1798
acoustic impedance-matched fuel nozzle device and tunable fuel
图片尺寸1566x3149
acoustic impedance measuring apparatus using ultrasonic waves
图片尺寸2299x4040
multilayer acoustic impedance converter for ultrasonic
图片尺寸2061x2565
acoustic impedance-matched fuel nozzle device and tunable fuel
图片尺寸2216x3385