agglomerate

industrial grade gelatin powder agglomerate granule best price
图片尺寸1920x1080
95前缀词根 ag-加强1,agglomerate英[0504ɡl08m05re01t
图片尺寸1080x1439
dry, uniform, free-flowing granular carbohydrate agglomerate
图片尺寸2320x3408
metal corrosion on heating surfaces and bed material agglomerate
图片尺寸967x1417
polyarylenetheragglomerate
图片尺寸1728x736
这些团簇有两种尺度结构:大团聚体(agglomerate)和小聚集体(aggregate
图片尺寸926x445
agglomerate mosaic tile with hexagon shape
图片尺寸600x579
composition for the preparation of an agglomerate made up of
图片尺寸1919x2030
专利us7632434 - abrasive agglomerate coated raised island
图片尺寸1893x2737
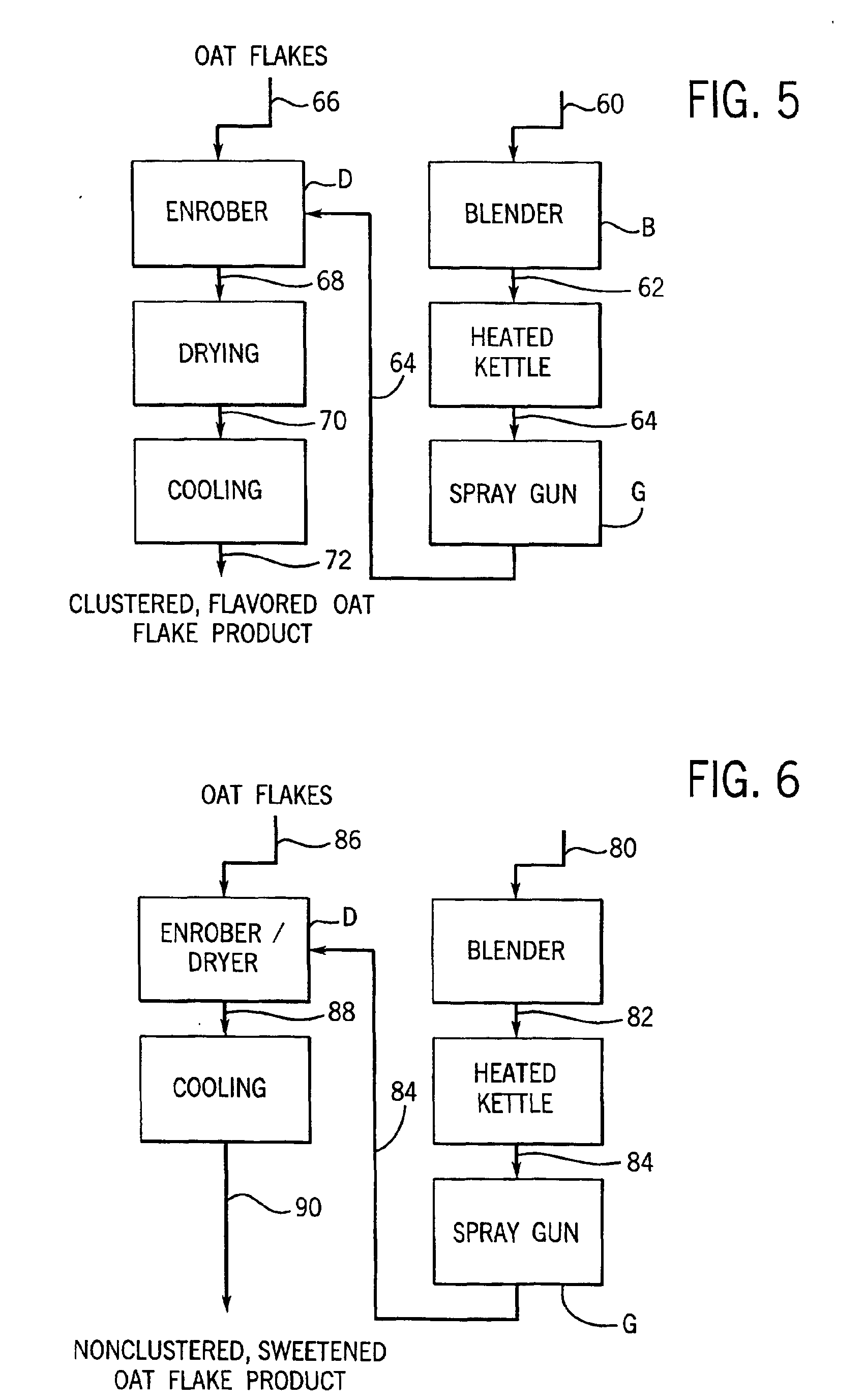
agglomerate of coated oat flakes and method
图片尺寸1701x2752
titanium oxide-containing agglomerate for producing granular
图片尺寸2213x3089
catalyst-agglomerate bodies encapsulated in a structure and
图片尺寸2320x3408
【预售】zur hydrodynamik von agglomeraten
图片尺寸534x800
agglomerate abrasive grains and methods of making the same
图片尺寸1329x2343
use of an abrasive article with agglomerates
图片尺寸1590x635
tarek chemaly
图片尺寸692x518
aktivierte aluminiumoxydagglomerate und verfahren zu ihrer
图片尺寸2043x2294
海外直订aliel: the agglomerate concussion 阿里尔:结块震荡
图片尺寸800x800
agglomerate of spherical polyvalent-metal alginate particulates
图片尺寸1536x2624
uv-absorber agglomerate
图片尺寸997x417