apparatus

apparatus
图片尺寸500x500
apparatus灯具照明设计机构!
图片尺寸1897x949
新品apparatus如日食般的光影变幻
图片尺寸1080x1440
apparatus由gabriel hendifar和jeremy anderson成立于2012 年,是一家
图片尺寸960x1280
apparatus for the treatment of rain water
图片尺寸2463x3778
harry mack聊天室随机连线即兴说唱 | the rap apparatus - freestyle
图片尺寸1280x720
porsche 964 backdate apparatus 复古保时捷开箱
图片尺寸1728x1080
【预售 按需印刷】telephone apparatus
图片尺寸907x1360
quality cheap price fast shipping medical breathing apparatus
图片尺寸750x750
coupling a data processor to alien apparatus
图片尺寸1631x2517
poliformmenuapparatus
图片尺寸1080x798
apparatus纽约的公寓
图片尺寸1080x1439
被一个美国的牌子优雅进心里了apparatus
图片尺寸1080x1350
method, system and apparatus for processing barcode data
图片尺寸2711x3158
classifying environment of a data processing apparatus
图片尺寸1985x2888
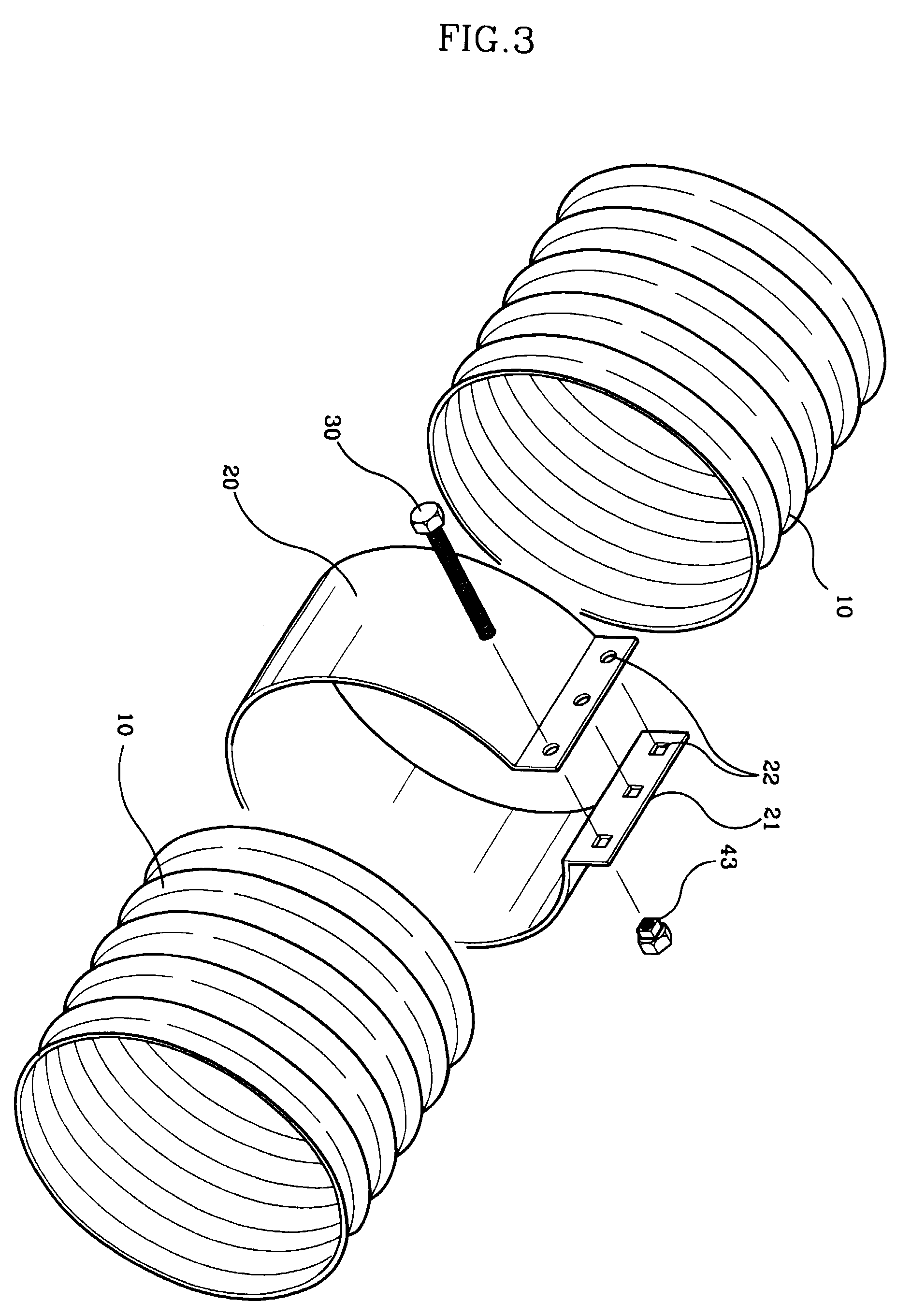
connection apparatus for waterway pipe
图片尺寸1856x2724
current apparatus
图片尺寸1200x699
apparatus
图片尺寸750x1000
monitoring diagnostic apparatus using neural network
图片尺寸1872x2914
guangdong haiou medical apparatus co., ltd
图片尺寸800x495