auxiliary movement

used as a means in recording the information and the movement
图片尺寸1080x810
method and system for auxiliary display of information for a
图片尺寸1621x2791
factory automatically loading unloading material auxiliary
图片尺寸750x296
syntax句法学subjectauxiliaryinversionandmovement
图片尺寸1152x720
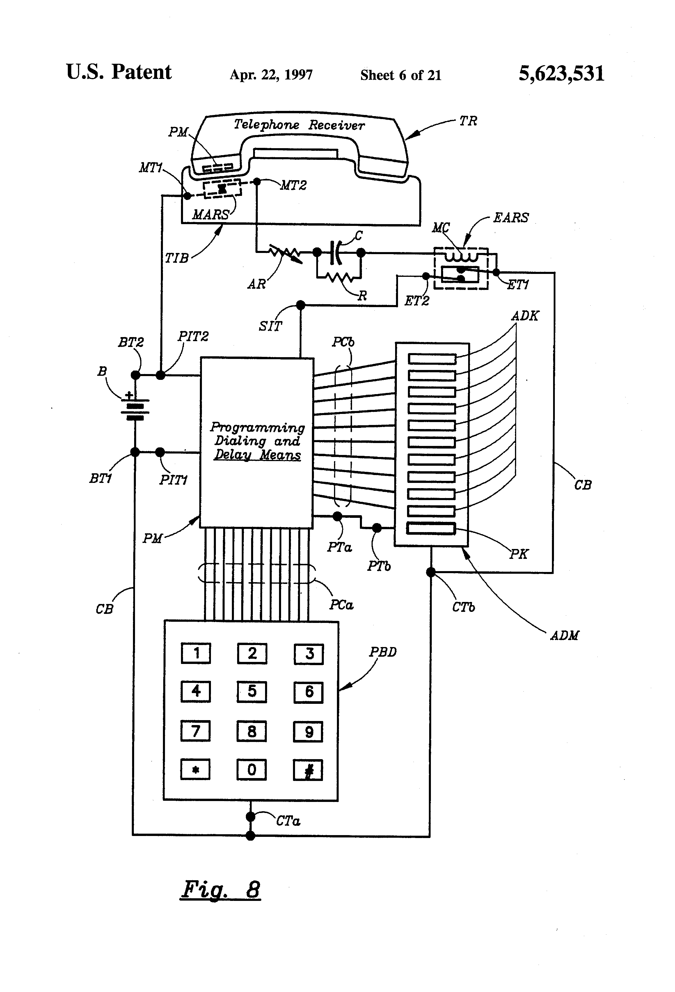
auxiliary power for telephone distribution system
图片尺寸2320x3408
96pcs manicure paper paperless tray auxiliary support photo
图片尺寸800x800
tile auxiliary tool vertical leveler,tile locator tile leveling
图片尺寸1141x1396
dual xlr inputs plus auxiliary minijack
图片尺寸680x680
gut microbiota as a subjective measurement for auxiliary
图片尺寸4976x3072
auxiliary agent for improving retention, drainage and treatment
图片尺寸2320x3408
5mm male to male audio cable 4 pole stereo aux cable auxiliary
图片尺寸1000x1000
identificationandauxiliaryidentificationfalseflowmethoddeviceand
图片尺寸2012x2367
gf-bangi is an auxiliary device for stabilizing the movement and
图片尺寸1024x1024
auxiliary output device
图片尺寸2171x2936
machine 30-40 bar blowing pressure 4, all the movements of
图片尺寸3216x2136
steganographic encoding and decoding of auxiliary codes in media
图片尺寸1998x2599
auxiliary
图片尺寸850x981
auxiliary system for assisting a movement system of fuel
图片尺寸1843x2752
authenticating an auxiliary device from a portable electronic
图片尺寸1843x2728
american legion junior auxiliary
图片尺寸4320x3240