bain回路

bain环路(同轴呼吸回路)
图片尺寸965x704
cn101351753a_用于控制至少一台机器的装置有效
图片尺寸2565x1788
bain环路(同轴呼吸回路)
图片尺寸743x537
cn 宽600x338高 www.bainta.com.cn 宽501x363高 www.
图片尺寸600x388
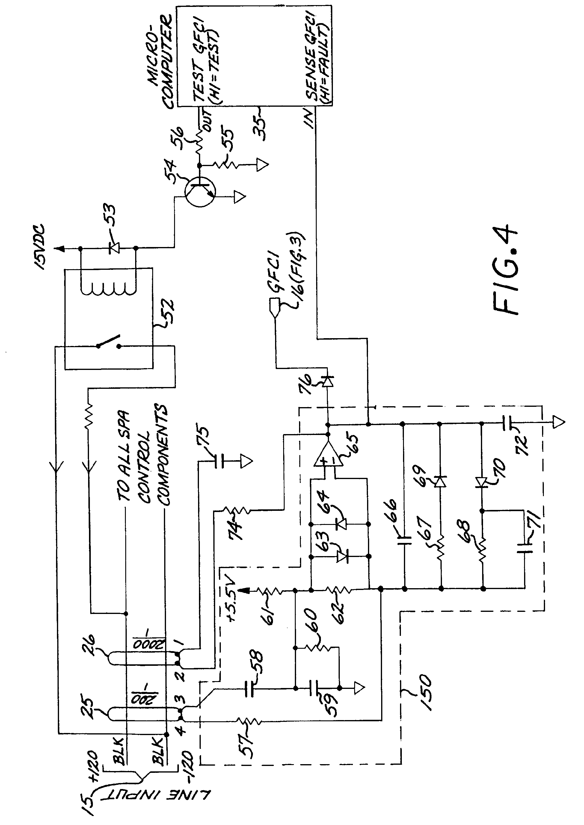
专利ep1110038b1 - systeme de commande pour dispositifs de bain
图片尺寸1949x2752
corrosion test under dynamic: 1-tank contain, 2-bainmarie, 3
图片尺寸471x295
贝恩半导体产业报告平衡点正在变化中通用芯片和专用芯片势必融合
图片尺寸760x507
追踪bain北京2020暑期实习一面邀请已发出
图片尺寸1080x675
图2-5 产业竞争的五种力量在产业层面,学者porter把bain和mason的产业
图片尺寸1344x1437
cn100558993c_移动车辆的传动线路和用于控制传动线路的方法失效
图片尺寸2673x1944
输入与a/d转换器相连,a/d转换器的rain,gain,bain分别与模拟接口的r,g
图片尺寸475x470
procédé et appareil denduction par bain en mousse
图片尺寸2318x3042
cn101018069a_用于无线通信移动台和基站的多频带多
图片尺寸1952x2277
système de commande pour une unité de bain avec moyens d
图片尺寸1600x2649
5gsps高速数据采集系统的设计与实现
图片尺寸500x232
咨询真题bain牙科
图片尺寸795x1060
bcgbaincaseinterview培训项目
图片尺寸1080x1439
bain2022esg真题case复盘系列4100
图片尺寸1080x1440
纯干货mbb咨询暑期秋招面经分享bain
图片尺寸1080x1439
bcgbaincaseinterview培训项目分
图片尺寸1080x775