bl6281引脚图

up6281不干活是我的思路不对么
图片尺寸985x390
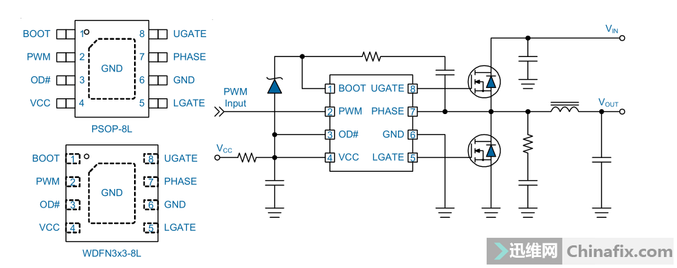
华硕p5g41主板cpu供电芯片p6281b8可以用rt9603代换吗?
图片尺寸736x444
b628芯片参数_电子设备_领域_电流
图片尺寸924x869
光耦817的简介
图片尺寸408x308
我刚找到个pc817光耦 能不能 划个线路图 12v输入 5v输出 要简单点
图片尺寸403x174
pc817线性光耦
图片尺寸268x174
pc847贴片封装与pc847封装脚间距及宽度相同,仅仅是增加量几个引脚
图片尺寸740x620
原厂正品台湾亿光el817s1(c)(tu)-f贴片光耦 817全系列abcd档现货
图片尺寸595x474
的mcp6281/2/3/4/5系列运算放大器(运放)提供较宽的电流带宽.
图片尺寸220x206
ap6181 正基 wifi 模块
图片尺寸547x604
ml81引脚排列图
图片尺寸385x393
pc817a pc817b pc817c pc817d pc817 光耦
图片尺寸884x349
programmable controllers, computers 2.
图片尺寸712x954
【雕爷学编程】arduino动手做(76)---2路光耦继电器模块
图片尺寸800x469
a6281eestr-t 响拇指公司优势产品
图片尺寸544x280
ltv-817x-b光宝光耦liteon光电耦合器原装
图片尺寸621x696
金士顿u盘量产注意
图片尺寸543x560
彩灯
图片尺寸509x378
hm628128blfpi-10 pdf中文资料,hm628128blfpi-10引脚图,hm628128blf
图片尺寸850x1100
bl6r6281-.jpg
图片尺寸1500x1000