blade belt

buy camouflage tinted blade belt cutter glass in china on
图片尺寸300x300
blade-tech competition belt
图片尺寸306x205
leather fixed blade belt sheath 6" - brown sh1162
图片尺寸628x714
transfer belt cleaning blade for ricoh mpc8002 mp8100 6502 5110
图片尺寸720x1280
世情薄 人情恶 #假面骑士blade #平成 @抖音热点 - 抖音
图片尺寸1920x1920
专利us20030230466 - conveyor belt cleaner scraper blade with
图片尺寸1711x2394
new marbles fixed blade bowie knife nylon belt sheath and
图片尺寸366x400
5x cc468-67907 transfer belt cleaning blade for hp cm3530 cp
图片尺寸800x800
zenport machete mp15 15-inch carbon steel blade, pvc handle
图片尺寸1200x800
63" satin finish double edge 7cr17mov stainless dagger blade.
图片尺寸600x549
marbles woodcraftblack nylon knife fixed blade belt sheath
图片尺寸400x300
the tusks blade is locked by a tab just below the belt clip.
图片尺寸3114x1317![belt knife - self defense hidden blade belt[ts-bltknf1]](https://imgs.wantubizhi.com/img/735A5D1F980B52A636CC46F12F2D1A73D9F8C3BA6D89046119512279A40D4EFC60100D1C0938D11A7C58B6ADB96AD0036B03B64C6819BACF8B6D409A10A306BDBDA5F9DFA10E45F590247394110EA7B8D72CCA573A1CADF9E151BE52AE6E5FF4)
belt knife - self defense hidden blade belt[ts-bltknf1]
图片尺寸540x540
polyurethane scraper primary blade belt cleaner for mining
图片尺寸1060x1413
black economy quality nylon fixed blade knife belt loop sheath
图片尺寸400x393
bandaiswordnarikiriserieskamenriderbladebladedxhenshinbeltkari
图片尺寸600x450
7" bone edge fixed blade camping hunting bowie skinner knife
图片尺寸1458x967
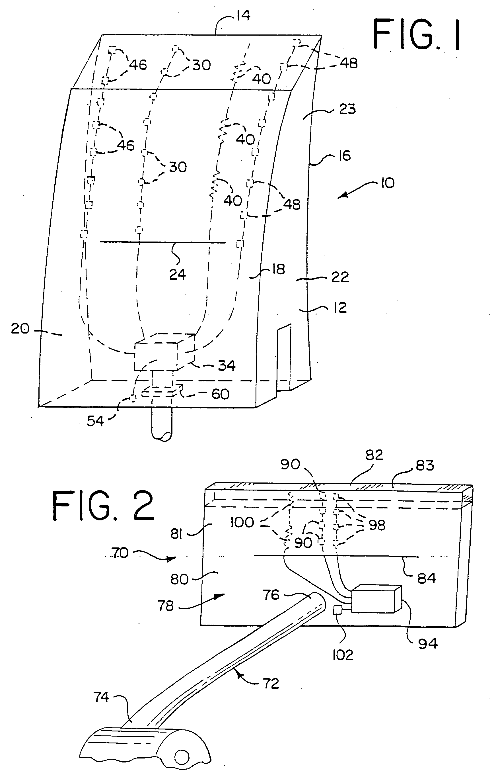
conveyor belt cleaner scraper blade with sensor and control
图片尺寸1736x2728
威尔胜美网皓夜系列blade98
图片尺寸1080x1439
belt knife - self defense hidden blade belt
图片尺寸300x300