blood flow

fritz99springmeyerilluminatidevilof13bloodflow
图片尺寸1045x1488
r i t u a l "blood flow"
图片尺寸350x350
78bloodflowoftheheart心脏血液循
图片尺寸788x1051
blood processing unit with circumferential blood flow
图片尺寸1949x2232
【oc/meme】blood flow_哔哩哔哩 (゜-゜)つロ 干杯~-bilibili
图片尺寸1728x1080
method to increase cerebral blood flow in amyloid angiopathy
图片尺寸1811x3102
improved blood flow natural remedy (bm73)
图片尺寸880x573
预订blood flow: a numerical treatment
图片尺寸267x400
blood flow velocity effects and role of activation delay time on
图片尺寸759x1280
mcdonaldsbloodflowinarteriestheoreticalexperimentalandclinical
图片尺寸1063x1386
blood flow monitor for shock and resuscitation
图片尺寸2092x2346
【4周达】ocular blood flow
图片尺寸800x800
peri-arterial blood flow booster
图片尺寸1954x2960
non-invasive blood flow monitor
图片尺寸1790x1996
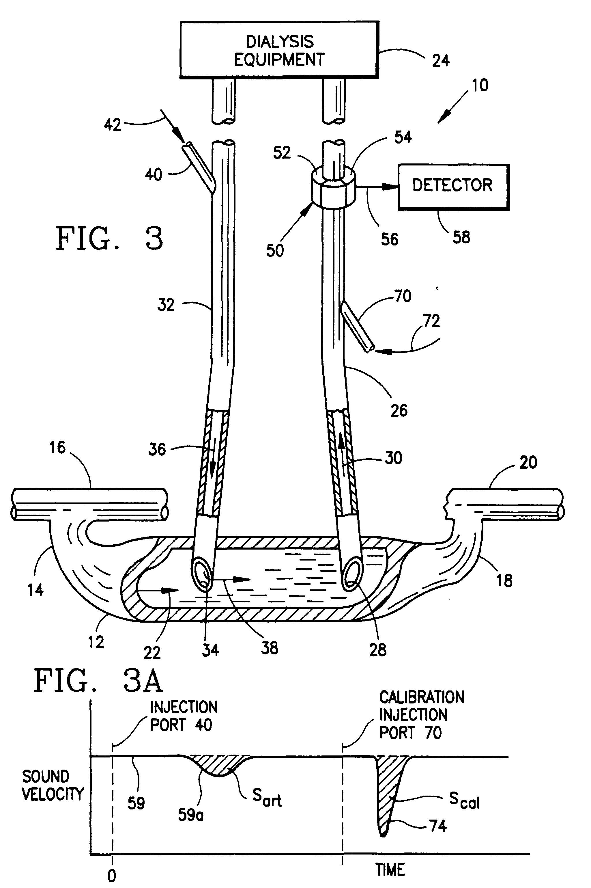
blood flow measurement method in hemodialysis shunts
图片尺寸2048x3075
cayenne pepper increases blood flow
图片尺寸704x428
extracardiac blood flow amplification device
图片尺寸2004x2546
海外直订医药图书blood flow in the heart and large vessels 心脏和
图片尺寸800x800
【4周达】modeling of blood flow in stenosed lad coronary artery
图片尺寸400x400
blood flow 血管血流成像
图片尺寸642x667