bypassvalve

60p00 high pressure bypass control valve
图片尺寸243x408
bypassvalve
图片尺寸300x254
oil cooler bypass valve
图片尺寸1694x2665
blox racing map sensor bypass valve
图片尺寸500x326
rv bypass valves
图片尺寸600x600
bypass valve for damper
图片尺寸1949x2693
bypass valve supplier
图片尺寸300x300
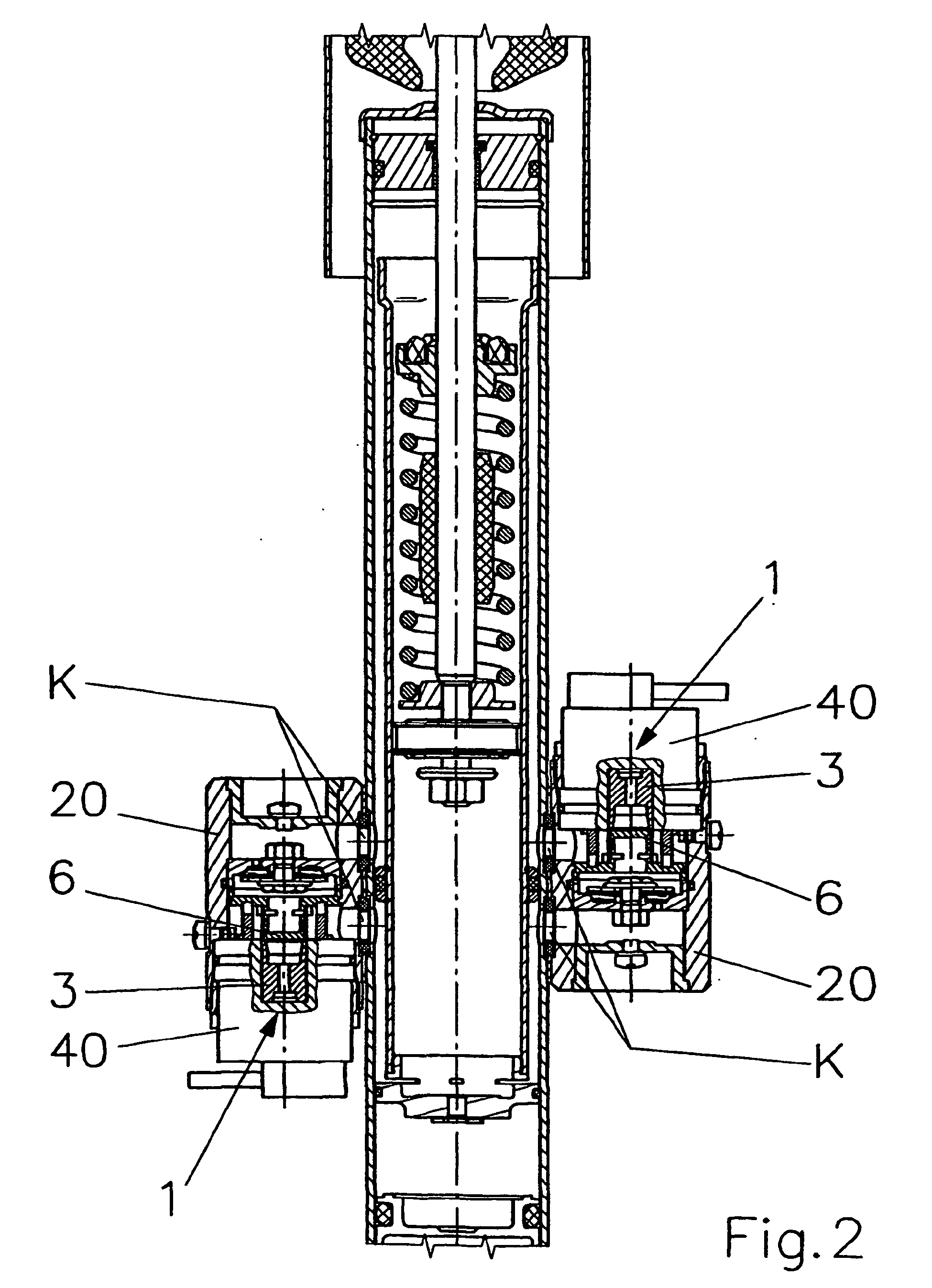
bypass valve for a hydraulic dashpot (shock absorber)
图片尺寸1997x2922
discharge bypass valve constant pressure automatic expansion
图片尺寸750x750
bypass valve for water treatment system
图片尺寸2674x4019
bypass valve
图片尺寸2320x3408
variable resistance pulmonary ventilation bypass valve
图片尺寸2046x1756
oil cooler bypass valve
图片尺寸2411x3353
cooler bypass valve system and method
图片尺寸2086x2918
evo 8/9/x cobb xle bypass valve 752650
图片尺寸352x352
downhole bypass valve
图片尺寸2839x4180
fuel filter with bypass valve
图片尺寸2093x2474
bypass valve for gas lift plunger
图片尺寸2751x4166
efficient bypass valve for multi-stage turbocharging system
图片尺寸1975x2963
water control fixture having bypass valve
图片尺寸2081x2672