cardiotomy

stem cells in the treatment of cardiovascular diseases
图片尺寸600x410
什么是腹腔热灌注化疗
图片尺寸500x339
110 ,心包切开后综合征(postpericardiotomysyndrome):是心内直视手术
图片尺寸541x360
出售medtronic el404 cardiotomy reservoir
图片尺寸720x960
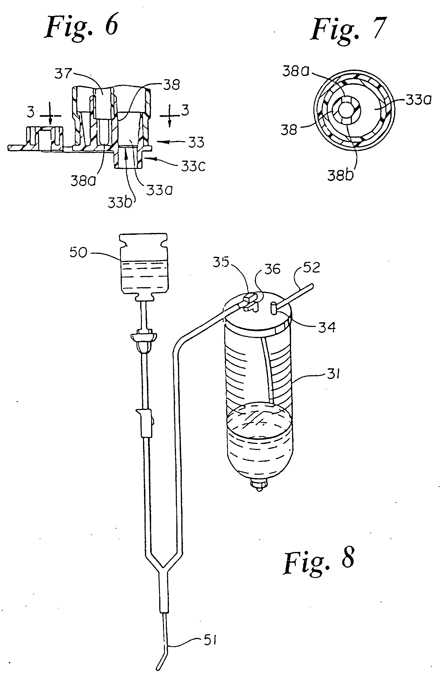
cardiotomy and venous blood reservoir and method
图片尺寸1343x1445
cardiotomy reservoir with internal filter
图片尺寸1856x2837
心脏停跳液灌注器销售电话:0631-5621609,0631-5716358(cardiotomy
图片尺寸705x950
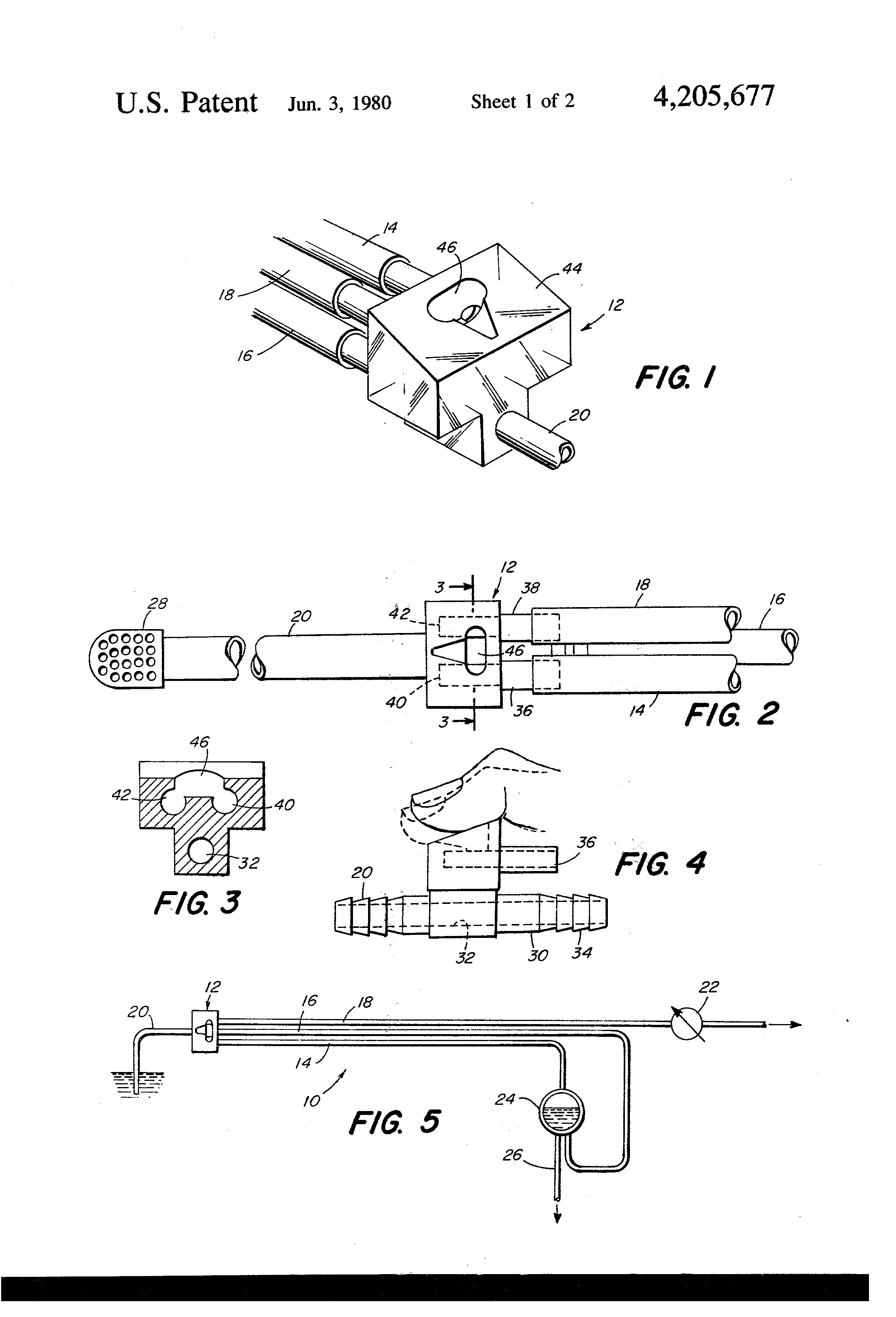
cardiotomy suction control system and valve
图片尺寸2320x3408
cardiotomy and venous blood reservoir and method
图片尺寸1742x1700
cardiotomy and venous blood reservoir and method
图片尺寸1567x1000
unitary venous return reservoir with cardiotomy filter
图片尺寸2320x3408
purulent pericarditis following pneumonia— pericardiotomy
图片尺寸550x809
post-cardiotomy parasternal nerve bl
图片尺寸864x501