cd4013电路图

这里人气旺,问个cd4013的电路问题
图片尺寸640x250
cd4013产生的方波发生器电路信号处理电子电路图
图片尺寸490x342
双d触发器4013
图片尺寸757x604
cd4013及非门组成的二倍频电路图
图片尺寸1561x901
cd4013电路图
图片尺寸600x360
只要用手触摸一次开关即可接通,再触摸一次开关断开,其电路如图所示
图片尺寸1036x406
由cd4013组成的路障自动警示灯电路
图片尺寸1500x656
用cd4013组成的正负极性脉冲延迟电路
图片尺寸1104x820
用cd4013组成的防抖动开关电路 如图所示为用cd4013组成的防抖动开关
图片尺寸1111x433
用cd4013组成的触摸式电源开关电路图
图片尺寸600x235
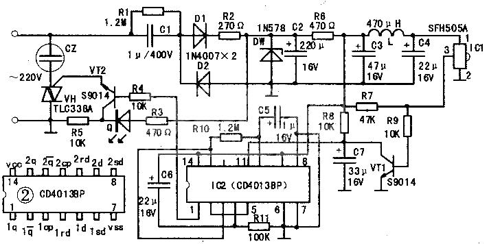
在拆一个充电器时发现的电路,测绘了出来,4013当作比较器,4013的
图片尺寸763x490
想做一个电路:按一下亮绿灯,再按一下亮红灯,再按亮绿灯
图片尺寸720x540
单稳态电路cd4013状态翻转不灵
图片尺寸645x343
strong>cd4013 /strong> strong>电路 /strong>.gif
图片尺寸571x378
用 strong>cd4013 /strong>制作单键 strong>触摸
图片尺寸841x346
巧用cd4013作移位器电路图
图片尺寸447x387
由cd4013组成的31脉冲分频电路图
图片尺寸500x563
免费文档 所有分类 工程科技 电子/电路 cd4013中文资料及应用 该应用
图片尺寸608x258
cd4013遥控插座电路electric outlet
图片尺寸712x356
用cd4013做的触摸开关 - 电路设计论坛 - 中国电子技术论坛 - 最好最
图片尺寸571x265