cell body

【国际生物】细胞结构 cell structure 1.0 - 知乎
图片尺寸720x503
知乎日报 - 知乎
图片尺寸390x205
nucleus nucleolus human body cell. nucleus of the eukaryotic cel
图片尺寸450x470
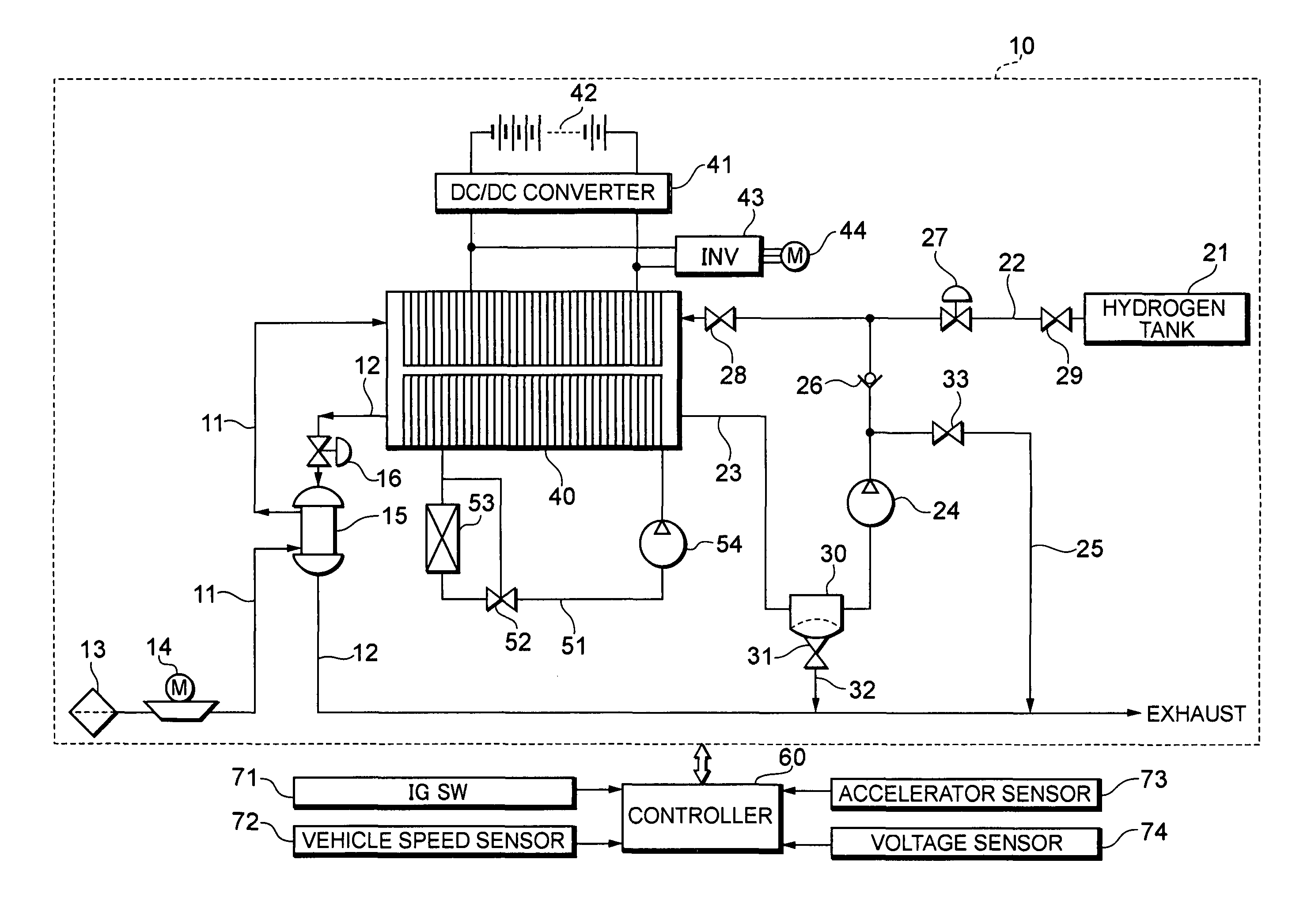
专利ep1684372b1 - fuel cell system and mobile body - google 专利
图片尺寸1583x1772
什么!学心理还要学生物?(上)_and
图片尺寸1080x772
什么!学心理还要学生物?(上)_and
图片尺寸1080x683
专利us8053124 - fuel cell system and mobile body - google 专利
图片尺寸2925x2092
【预售】quality of the body cell mass: body composition in
图片尺寸534x800
专利us20060269839 - cell, connected-cell body, and battery modul
图片尺寸1553x2178
know your body archives - the anti-aging guy
图片尺寸720x407
benefits of msm usage.
图片尺寸917x540
什么!学心理还要学生物?(上)_and
图片尺寸774x1220
eberhard reimann - medical / human body illustrator & animator
图片尺寸320x320
cell body - 中央美术学院 - 原创作品 - 视觉中国(shijueme)
图片尺寸1000x1508
图表· the cell body of the multipolar neuron | quizlet
图片尺寸888x666
unit1:evolution of cellular life pre-to-post cambrian 寒武纪前后
图片尺寸1080x810
与ann的第一次约会:ann是什么?_步步咏凉天的博客-csdn博客
图片尺寸1038x288
kiadis and sanofi sign natural killer cell therapy pact :: scrip
图片尺寸790x444
paperweekly----第135期(08 feb 2019) - 麻醉疼痛专业讨论版 -丁香园
图片尺寸786x787
3d nerve cell anatomy brain - turbosquid 1264015
图片尺寸1100x733