closed captioning

file:closed captioning symbol.svg
图片尺寸1280x962
closed captioning sign illustration
图片尺寸450x346
closed captioning vs subtitles
图片尺寸1200x675
could it be true: directv receivers dont pass closed captioning
图片尺寸512x482
automated closed captioning: accessibility meets ai
图片尺寸1500x1000
【预订】closed captioning handbook
图片尺寸500x500
television closed captioning) provides maximum data rate of
图片尺寸1024x826
fcc closed captioning requirements
图片尺寸300x246
howtocreatefreeclosedcaptioningtextforelearning
图片尺寸351x259
closed captioning subtitling, stenography, and the digital
图片尺寸266x400
automated closed captioning: accessibility meets ai
图片尺寸1500x1000
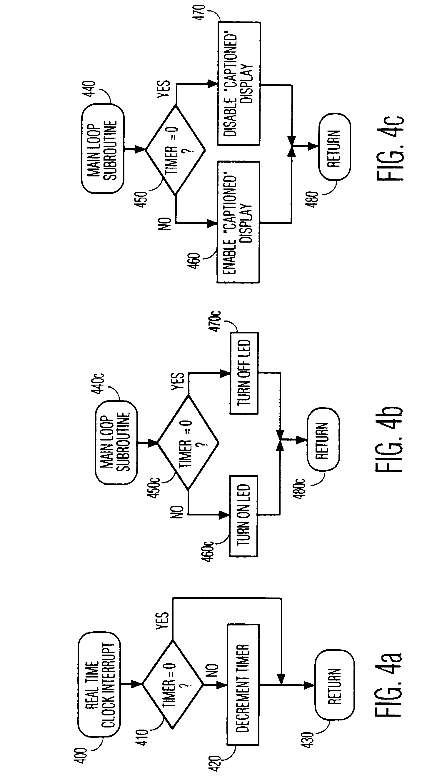
display of closed captioning status
图片尺寸1520x2656
closed captioning on seattle channel and in public
图片尺寸1920x1080
itunes store: about closed captioning
图片尺寸624x608
itunes store: about closed captioning
图片尺寸691x326
closed captioning language translation
图片尺寸2084x2960
closed captioning data detection system and method
图片尺寸2362x2768
system providing freeze of closed captioning data
图片尺寸1600x2736
distribution of closed captioning from a server to a client over
图片尺寸2902x2123
howtocreatefreeclosedcaptioningtextforelearning
图片尺寸550x362