committal

背景嘛,当然是这些公司最近推出了一些功能强大的
图片尺寸2466x1280
voluntary committal
图片尺寸500x743
warrantofcommittal短评
图片尺寸267x400
结构师用什么bim软件tekla软件王者归来
图片尺寸2249x730
大成管理员
图片尺寸893x536
an alternative to committal
图片尺寸400x350
mysql数据库常用命令详解
图片尺寸910x568
committal, -, uebergabe素材照片
图片尺寸450x319
120 inch 4k fabric matt white tubular motorized
图片尺寸1000x491
中国将是chatgpt主要对手# 4月23日,微软总裁布拉
图片尺寸2438x1280
成功案例
图片尺寸644x549
2018年区块链红黑榜-千氪
图片尺寸1200x607
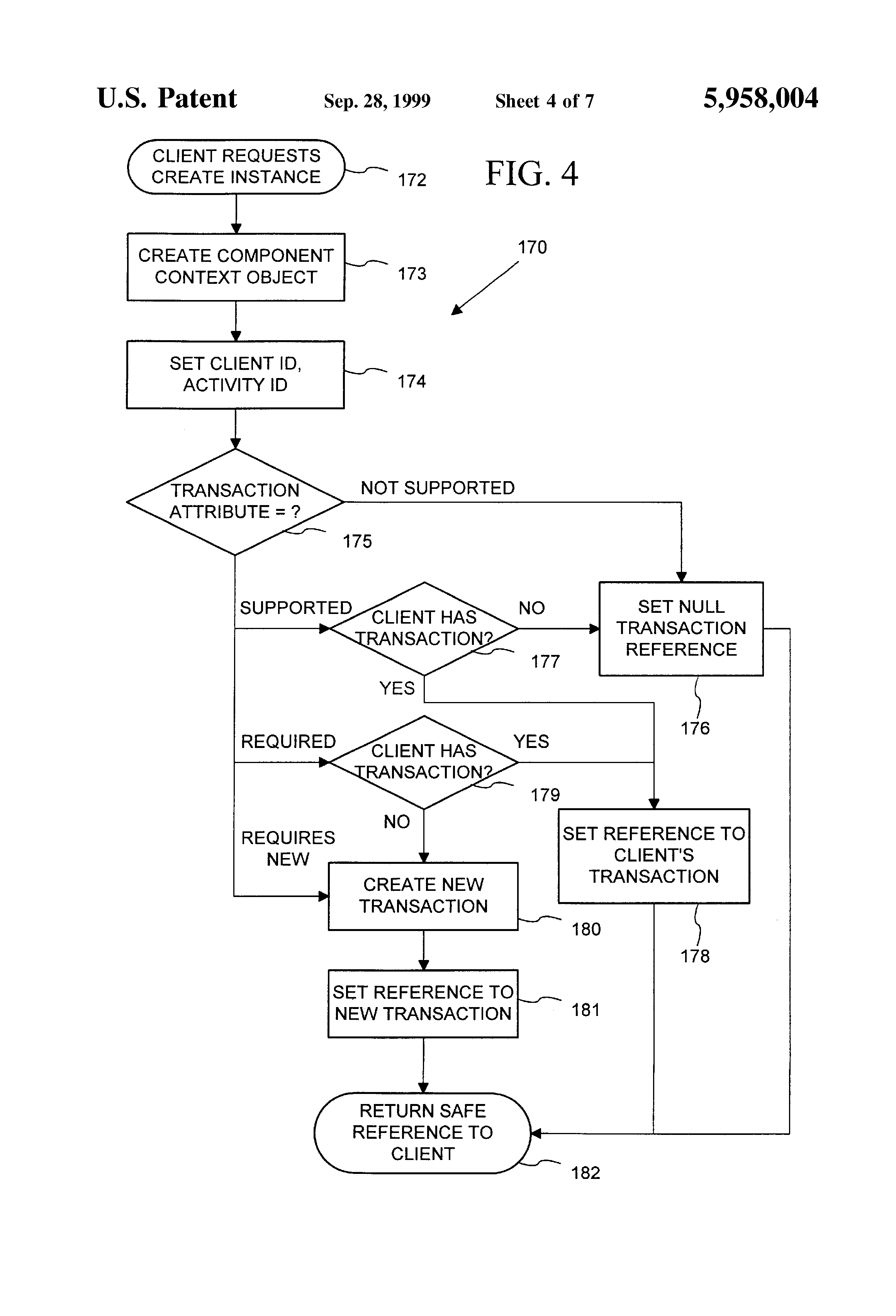
disabling and enabling transaction committal in transactional
图片尺寸2320x3408
non committal 19/fw 95_人像_poco摄影
图片尺寸2048x2561
disabling and enabling transaction committal in transactional
图片尺寸2320x3408
minitab
图片尺寸7140x1645
this culminated in her committal, imprisonment, and appearance
图片尺寸366x564
n. 委托;承担义务;赞助;收监;献身(等于commitment)committal:n.
图片尺寸660x488
伦理概念词
图片尺寸700x817
facial recognition software wrongly identifies 28 la
图片尺寸2400x1599