conduit power

conduit for use in the transmission of electrical power
图片尺寸1919x2894
conduit for use in the transmission of electrical power
图片尺寸1727x2700
flexible power conduit for automatic pool cleaners
图片尺寸1504x2099
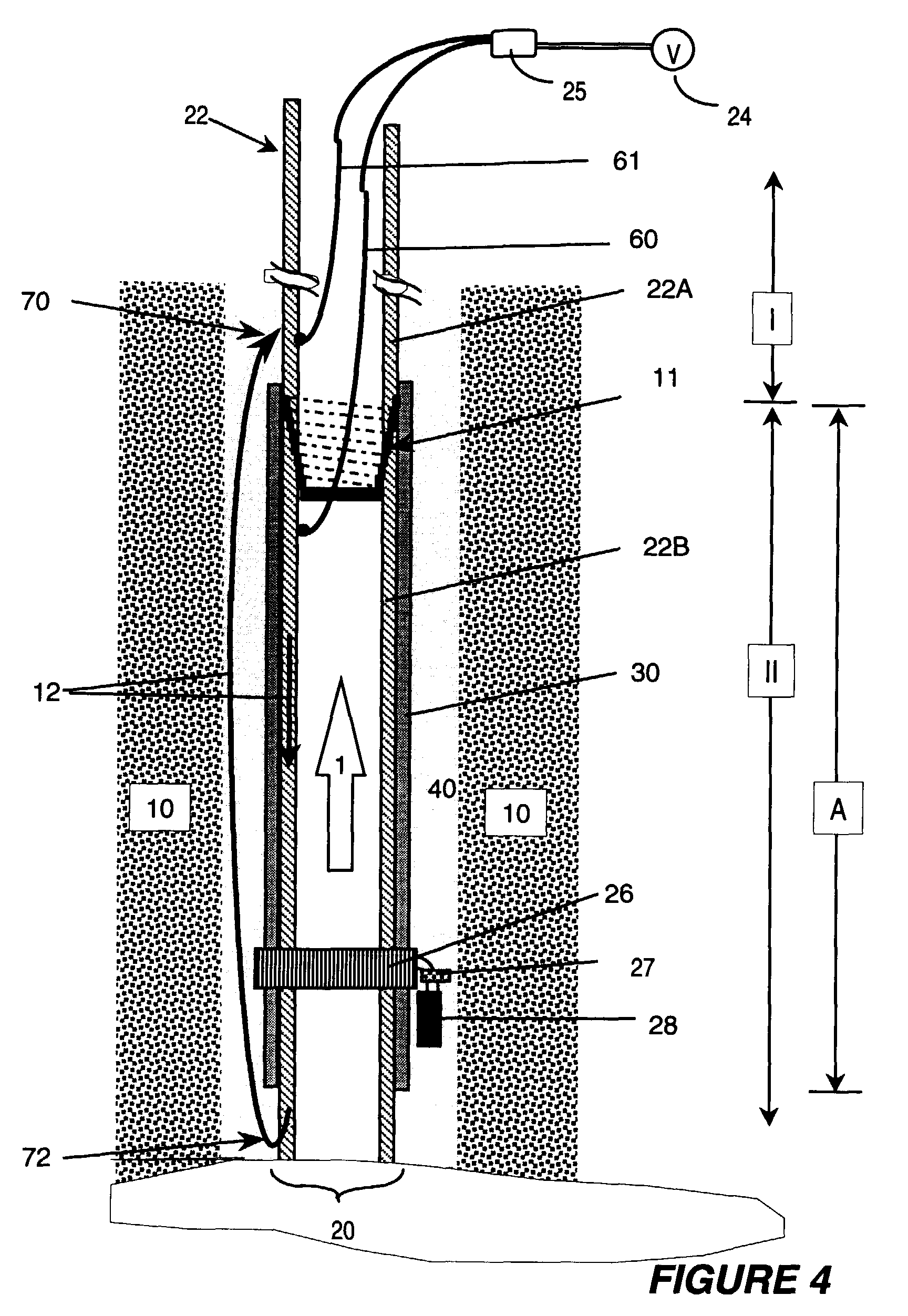
power and signal transmission using insulated conduit for
图片尺寸1728x2504
high voltage power cable protecting pvc conduit pipe
图片尺寸433x502
conduitandpipeline
图片尺寸1080x683
2000mm lead in 16mm conduit
图片尺寸400x500
gdc 11 - conduits solar power backpack giveaway!
图片尺寸375x500
east conduit
图片尺寸2214x2772
专利us20100092233 - integral power or electrical conduit coupler
图片尺寸1890x1935
18mm pvc coated flexible conduit for electric power industry
图片尺寸720x720
广州国际高级音响展 slne展位:三楼附件区d9
图片尺寸356x800
pvc grid pipe perforated nine hole communication power conduit
图片尺寸300x300
uncharted power核心部件示意图接入通道(accessible conduit)是电源
图片尺寸638x372
电钢柔性导管 - buy flex hose electrical steel flexible conduit
图片尺寸790x893
power telecommunication use frp cable protection conduit pipe
图片尺寸707x528
推荐内容简介· · · · · ·technology is the conduit of power
图片尺寸270x432
mpp conduit power cable plastic bushing hose piping sheath
图片尺寸750x750
metal conduit flexible
图片尺寸640x640
power and signal transmission using insulated conduit for
图片尺寸1840x2516