cramping

cramping --ouch | flickr – 相片分享!
图片尺寸640x425
bonking vs. fatigue vs. cramping: what you need to know
图片尺寸683x1024
brand new- sport hiking/ cramping/ boy scout internal frame back
图片尺寸266x400
"i wasn’t cramping and was less uncomfortable going to
图片尺寸1494x1884
two smoothies: cramping & cravings girl talk73
图片尺寸1365x2048
brand new- sport hiking/ cramping/ boy scout internal frame back
图片尺寸996x1500
brand new- sport hiking/ cramping/ boy scout internal frame back
图片尺寸996x1500
cramping nadal, roddick into fourth round, del potro out of us
图片尺寸550x358
brand new- sport hiking/ cramping/ boy scout internal frame back
图片尺寸1001x1500
brand new- sport hiking/ cramping/ boy scout internal frame back
图片尺寸357x500
就算真是那样,嘿嘿我今天一直都是真空的啊老婆婆
图片尺寸1920x1274
brand new- sport hiking/ cramping/ boy scout internal frame back
图片尺寸357x500
not in the lineup for the second consecutive game after cramping
图片尺寸1000x712
determining the etiology of exercise-associated muscle cramping
图片尺寸1536x2048
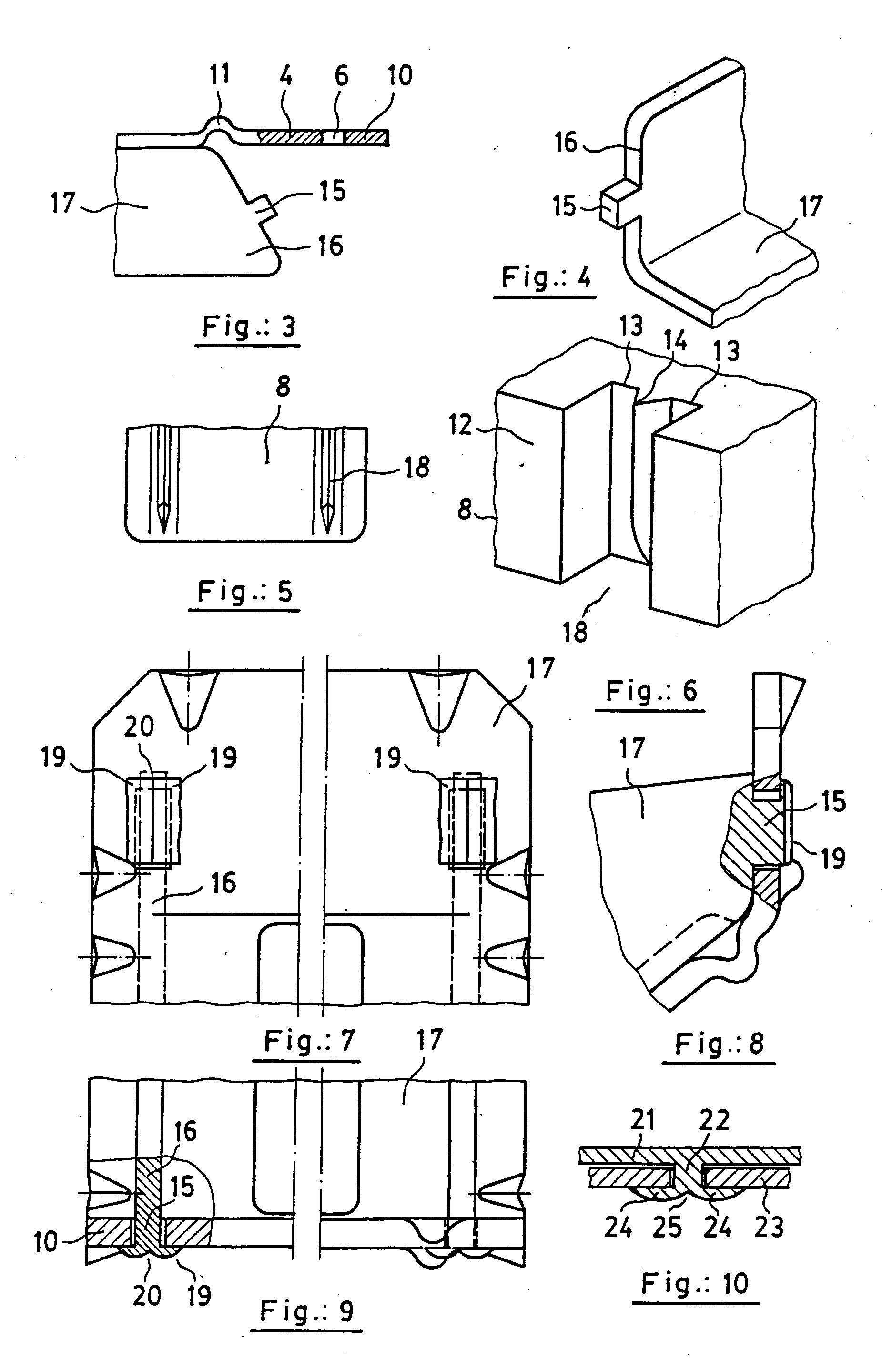
procedure for cramping by riveting, cramping obtained by this
图片尺寸1851x2878
symptoms of cramping during pregnancy
图片尺寸633x319
braces have holes in them ╟ so no more clammy backs cramping
图片尺寸1166x778
cramping rednecks treks | flickr – 相片分享!
图片尺寸500x500
if your horse develops severe muscle cramping, call your
图片尺寸620x775
2009-11-11 all this sappy shit is seriously cramping
图片尺寸374x450